Книга Тяжелый танк «Тигр». Смертельное оружие Рейха, страница 7 – Михаил Барятинский

Авторы: А Б В Г Д Е Ж З И Й К Л М Н О П Р С Т У Ф Х Ч Ш Ы Э Ю Я
Книги: А Б В Г Д Е Ж З И Й К Л М Н О П Р С Т У Ф Х Ц Ч Ш Щ Ы Э Ю Я
Бесплатная онлайн библиотека LoveRead.in

Онлайн книга «Тяжелый танк «Тигр». Смертельное оружие Рейха»

📃 Cтраница 7

Бортовые передачи — двухрядные, комбинированные, с разгруженным ведомым валом.

Механические дисковые тормоза были разработаны инженером Клауе и изготовлены фирмой Argus.

Иллюстрация к книге — Тяжелый танк «Тигр». Смертельное оружие Рейха [i_046.jpg]

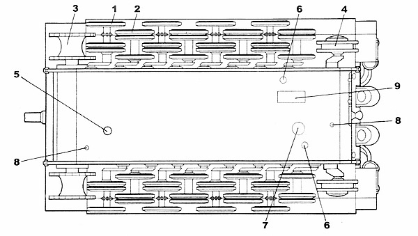
Схема ходовой части и днища танка:

1, 2 — опорные катки; 3 — ведущее колесо; 4 — направляющее колесо; 5 — люк для слива масла из коробки передач; 6 — лючки для слива топлива; 7 — лючок для слива воды и моторного масла; 8 — днищевые вентили; 9 — люк для доступа к генератору и топливному насосу.


ХОДОВАЯ ЧАСТЬ танка применительно к одному борту состояла из 24 опорных катков, расположенных в шахматном порядке в четыре ряда. Опорные катки размером 800x95 мм у первых 799 танков имели резиновые бандажи; у всех последующих — внутреннюю амортизацию и стальные бандажи. Конструкцию ходовой части разработал советник имперского Управления вооружений инженер Г. Книпкамп — активный участник проектирования целого ряда германских бронированных машин.

Подвеска — индивидуальная, торсионная, одновальная.

Балансиры передних и задних опорных катков снабжались гидравлическими амортизаторами, размещёнными внутри корпуса.

Ведущие колёса переднего расположения имели два съёмных зубчатых венца по 20 зубьев каждый. Зацепление цевочное.

Направляющие колёса — литые, с металлическими бандажами и кривошипным механизмом натяжения гусениц.

Гусеницы стальные, мелкозвенчатые, из 96 двухгребневых траков каждая. Ширина гусеницы 725 мм, шаг трака 130 мм.

Иллюстрация к книге — Тяжелый танк «Тигр». Смертельное оружие Рейха [i_047.jpg]

Демонтаж транспортной гусеницы с одного из танков «Тигр» моторизованной дивизии «Великая Германия». Август 1944 года.

Иллюстрация к книге — Тяжелый танк «Тигр». Смертельное оружие Рейха [i_048.jpg]

«Тигр» во время перевозки по железной дороге. Машина «обута» в транспортные гусеницы, боевые — уложены под танком.


На «тиграх» использовались два типа гусениц — транспортные, шириной 520 мм и боевые, шириной 725 мм. Первые применялись для перевозки по железной дороге, дабы вписаться в габарит платформы, и для движения своим ходом по дорогам с твёрдым покрытием вне боя. (При перевозке танков часто снимались и наружные опорные катки.) При использовании транспортных гусениц удельное давление на фунт возрастало до 1,53 кг/см2.

ЭЛЕКТРООБОРУДОВАНИЕ было выполнено по однопроводной схеме. Напряжение 12 В. Источники: генератор Bosch GULN 1000/12-1000 мощностью 0,7 кВт, два аккумулятора Bosch ёмкостью 150 А*ч. Потребители: электростартер Bosch BPD 6/24 мощностью 4,4 кВт, система зажигания, башенный вентилятор, контрольные приборы, подсветка прицелов, приборы звуковой и световой сигнализации, аппаратура внутреннего и внешнего освещения, звуковой сигнал, спуски пушки и пулемётов.

СРЕДСТВА СВЯЗИ. Все танки «Тигр» оснащались радиостанцией Fu 5, имевшей дальность действия 6,4 км телефоном и 9,4 км телеграфом.

СПЕЦИАЛЬНОЕ ОБОРУДОВАНИЕ. Система пожаротушения — автоматическая, с порогом срабатывания 120°С. Сигнализация была выведена на панель приборов механика-водителя.

После внедрения башни с командирской башенкой нового типа длина с пушкой вперёд составила 8455 мм, а высота — 2885 мм.


Тактико-технические характеристики танка Tiger Ausf.E

Иллюстрация к книге — Тяжелый танк «Тигр». Смертельное оружие Рейха [i_049.jpg]
Иллюстрация к книге — Тяжелый танк «Тигр». Смертельное оружие Рейха [i_050.jpg]

Компоновка танка «Тигр»:

1 — мортирки для стрельбы дымовыми гранатами; 2 — ящик с прикладом и сошками спаренного пулемёта; 3 — бинокулярный прицел; 4 — бортовой люк; 5 — вентилятор; 6 — блок предохранителей; 7 — антенна; 8 — сиденье командира; 9 — лючок для стрельбы из личного оружия; 10 — командирский маховик поворота башни; 11 — ограждение пушки; 12 — механизм поворота башни; 13 — укладка пулемётных лент; 14 — топливный бак; 15 — сиденье наводчика; 16 — гидромотор поворота башни; 17 — механизм управления поворотом башни; 18 — амортизатор; 19 — педаль сцепления; 20 — педаль тормоза; 21 — сиденье механика-водителя; 22 — механизм поворота; 23 — дисковый тормоз; 24 — радиостанция.

Иллюстрация к книге — Тяжелый танк «Тигр». Смертельное оружие Рейха [i_051.jpg]
БОЕВОЕ ПРИМЕНЕНИЕ
Иллюстрация к книге — Тяжелый танк «Тигр». Смертельное оружие Рейха [i_052.jpg]

Занятия танковых экипажей в одном из учебных лагерей Панцерваффе на территории Франции.


Специально для танков «Тигр» была создана новая тактическая единица — тяжёлый танковый батальон (schwere Panzerabteilung — sPzAbt), представлявший собой отдельную воинскую часть, которая могла действовать как самостоятельно, так и придаваться другим частям или соединениям вермахта.

В 1942 и в начале 1943 года тяжёлый танковый батальон организационно состоял из четырёх рот, причём только две из них были танковые (с весны 1943 года — соответственно пять и три). Следует отметить, что в ряде случаев вплоть до осени 1943 года батальоны имели смешанный боевой состав. Наряду с тяжёлыми танками «Тигр» на их вооружении состояли средние Pz.Kpfw.III Ausf.L, М и N. Причём в 1942 году в тяжёлых батальонах последние составляли большинство. К 1944 году боевой состав новых частей стал более однородным. В танковых ротах и штабе имелись теперь только «тигры», машины иного типа — средние Pz.Kpfw.IV Ausf.H — сохранились теперь только в танковом взводе роты обеспечения. Кстати, эти танки, резко отличавшиеся от остальных «четвёрок» по внешнему виду из-за противокумулятивных экранов, наши бойцы часто принимали за «тигры». Более того, даже в боевых донесениях они часто именовались «„Тигр“, тип 4», что резко «увеличивало» статистику применённых на том или ином участке фронта немецких тяжёлых танков. Впрочем, в некоторых батальонах по-прежнему оставались на вооружении Pz.IIIN, а в sPzAbt 502, например, имелся взвод самоходных установок Jagdpanzer 38(t) Hetzer.

Иллюстрация к книге — Тяжелый танк «Тигр». Смертельное оружие Рейха [i_053.jpg]

«Тигр» из состава 1-й роты 502-го тяжёлого танкового батальона. Восточный фронт, сентябрь 1942 года.

Вход
Поиск по сайту
Ищем:
Календарь