Книга Технология творческого мышления, страница 49 – Марк Меерович

Авторы: А Б В Г Д Е Ж З И Й К Л М Н О П Р С Т У Ф Х Ч Ш Ы Э Ю Я
Книги: А Б В Г Д Е Ж З И Й К Л М Н О П Р С Т У Ф Х Ц Ч Ш Щ Ы Э Ю Я
Бесплатная онлайн библиотека LoveRead.in

Онлайн книга «Технология творческого мышления»

📃 Cтраница 49

Вот и первое задание (задача 1): предложить идею датчика для автоматического регулирования длины дуги, при этом желательно не забыть, что дело было 130 лет тому назад.

(Принцип автоматического регулирования поясним на таком примере. Необходимо, например, поддерживать в помещении температуру 20 ± 1 °С. Для этого в качестве датчика температуры используется двухпозиционный термометр, который замыкает контакты при температуре 19 и 21 °С. Схема управления нагревателем строится таким образом, что при замыкании контактов «19 °С» нагреватель включается, а при замыкании контактов «21 °С» — выключается. Ваша задача — найти параметр, связанный с длиной дуги, и на его основе предложить идею датчика для автоматического регулирования расстояния между концами электродов.)

Но электроды все равно сгорают, и их необходимо менять. Понятно, что чем длиннее электрод, тем реже его нужно менять. Но с увеличением длины электрода возрастает длина всего аппарата (типичное ТП, не правда ли?). Как быть? Это задача 2.

С этими задачами столкнулся начальник телеграфной части Московско-Курской железной дороги П.Н. Яблочков. Как-то ночью ему пришлось промучиться с прожектором на передней площадке паровоза, освещая полотно железной дороги для царского поезда. Сходя утром с паровоза, он понял, что не успокоится до тех пор, пока не сконструирует стабильный источник света.

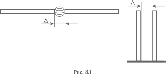
Регуляторы долго не получались. Историки рассказывают, что решение пришло к Яблочкову, когда он вертел в руках два карандаша, сближая их и разводя. Можно предположить, что ход мысли был таким: «Дуга горит между торцами электродов. Между ними должно быть определенное расстояние. Когда часть электродов сгорит, такое же расстояние должно стать между следующими частями электродов. Потом — между следующими. И так на всей длине электродов. Может, такое расстояние должно не стать, а быть?! Заранее?!» И Яблочков, сведя карандаши на «нужное расстояние», поставил их на столе параллельно друг другу (рис. 8.1).

Иллюстрация к книге — Технология творческого мышления [_50.jpg]

Идеальное решение: регулятора нет, а функция его выполняется! (Вообще-то это должно было быть задачей 3...)

Но дуга на идеальное решение ответила весьма оригинально: она сбежала вниз по электродам и перегрызла их у основания! Яблочков задумался. Вы тоже — ведь это задача 4. Когда Павел Николаевич заставил дугу спускаться «как надо», возникла еще одна задача: электрод, к которому подключали +, сгорал быстрее, дуга перекашивалась, ее длина опять росла, и дуга опять гасла. Здесь есть минимум три решения, все годятся. Найти их — задача 5.

И наконец, последняя задача, пожалуй, самая сложная. Расстояние между электродами-карандашами было выбрано таким образом, чтобы дуга при определенном напряжении сети горела в оптимальном режиме. Но при данном напряжении и таком расстоянии дуга сама не загоралась! Для этого нужно или сблизить электроды, или увеличить напряжение в момент включения.

Сблизить электроды, как вы понимаете, было нечем. Обеспечить скачок напряжения можно, но это опять-таки сильно усложняло схему и плохо отражалось на работе остальных элементов цепи.

Яблочков опять нашел красивое решение: он установил между концами электродов тоненькую перемычку. В момент включения она сгорала, поджигая дугу.

И что, свечу можно включить только один раз? Не устанавливать же перед каждым включением перемычку?!

Вопрос поставлен абсолютно правильно. Это и есть задача 6: Предложите принципиальную идею многократного включения свечи. Хорошо бы получить ИКР...

«Русский свет!» — назвали свечу Яблочкова на Всемирной Парижской промышленной выставке 1878 г. «Русский свет!» — повторяли парижане, собираясь вечером на набережной Сены в ожидании, когда разом вспыхнут все фонари.

Конечно, это далеко не все задачи, которые пришлось решать Яблочкову, зажигая свою свечу. Как, например, подать ток на электроды? Ведь свечи придется менять после того, как они сгорят. Каким должен быть выключатель на одну свечу? На несколько свечей? Ведь сила тока прямо пропорциональна их количеству. Как защитить цепь от замыканий? И еще множество других проблем, чтобы создать работоспособную сеть местного освещения.

Электрическая свеча горела, затмевая огонь восковых свечей, керосиновых ламп и газовых рожков. Но для трезвомыслящих специалистов, а Яблочков тоже принадлежал к их числу, недостатки свечи были слишком очевидны: наличие открытого пламени, испарение электродов и обмазки, небольшой срок службы...

Меняясь в деталях, электрическая лампочка накаливания по принципу действия за 100 лет существования практически не изменилась. Это совсем не значит, что при ее создании и потом не возникало никаких проблем.

Они, безусловно, были. Давайте представим себя изобретателями лампочки (вместо Эдисона и Лодыгина) и подумаем, какие могут возникнуть технические трудности и как с ними бороться.

Проблема № 1, без сомнения, это подбор материала нити накаливания. Вы, вероятно, не забыли, что после выбора принципа действия системы идет выбор рабочего органа. Эдисон в поисках подходящего материала перебрал около 6000 вариантов (данные о Лодыгине неизвестны).

При всей своей гениальности и огромной результативности (Эдисон получил более 1000 патентов!) методы, которыми пользовался Эдисон в поисках идеи, были крайне непроизводительны. Широко известна их оценка талантливым чешским ученым и изобретателем Николаем Теслой, который некоторое время работал в лаборатории Эдисона: «Если бы Эдисону понадобилось найти иголку в стоге сена, он бы не стал терять времени на то, чтобы определить наиболее вероятное место ее нахождения. Он немедленно с лихорадочным прилежанием пчелы начал бы осматривать соломинку за соломинкой, пока не нашел бы предмета своих поисков. Его методы крайне неэффективны. Он может затратить огромное количество времени и энергии и не достигнуть ничего, если только ему не поможет счастливая случайность. Вначале я с печалью наблюдал за его деятельностью, понимая, что небольшие творческие знания и вычисления сэкономили бы ему 30% труда. Но он питал неподдельное презрение к книжному образованию и математическим знаниям, доверяясь всецело своему чутью изобретателя и здравому смыслу американца».

Справедливости ради нужно отметить, что в то время свойства материалов, тем более в такой новой и специфической области знаний, как нагрев электрическим током, были мало известны. Исследования тех лет легли в основу таблиц, которыми мы сейчас пользуемся.

Интересно, а как бы вы, уже имея «небольшие творческие знания», искали иголку в стоге сена?

Попробуем применить полученные знания и повысить производительность интеллектуального труда. Для этого, очевидно, нужно рассмотреть нить как элемент нескольких систем: нить и источник энергии (электрический ток); нить и внешняя среда; нить и зрение человека. Ограничимся пока этим, хотя число систем можно продолжить. Например, нить и возможности производства — технология, стоимость и т.д.

Вход
Поиск по сайту
Ищем:
Календарь