Онлайн книга «Секретные инструкции ЦРУ и КГБ по сбору фактов, конспирации и дезинформации»
|
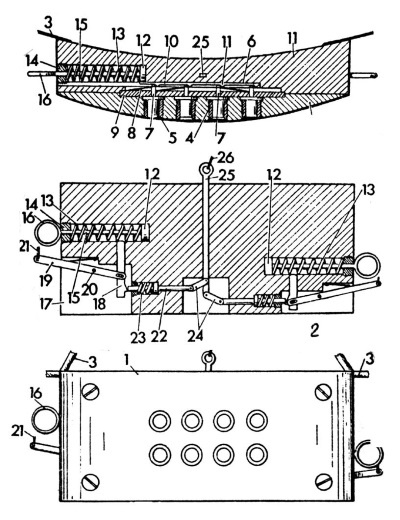
Устройство состоит из передней и задней пластин, соединенных друг с другом с помощью винтов или другим способом, допускающим удобное разъединение для перезарядки, между которыми установлены верхний и нижний ряды стволов (ударно-спусковой и предохранительные механизмы). Сменные вкладыши патронников позволяют переналаживать приспособления для стрельбы патронами различных калибров. Внутренняя поверхность задней пластины и внешняя передней искривлены соответственно форме мужской груди с целью обеспечения скрытого ношения. Выстрелы из стволов происходят в результате удара бойков по капсюлям патронов. ![]() Рис. 274. Малогабаритный пистолет Liberator ![]() Рис. 275. Стреляющие авторучки и карандаши ![]() Рис. 276. Многоствольное стреляющее устройство, срабатывающее при подъёме рук: 1–передняя часть; 2–задняя часть; 3–ремни для укрепления устройства на теле; 4–патронник; 5–вкладыш, обеспечивающий стрельбу из устройства различными патронами; 6–продольный паз; 7–боёк; 8–пластинчатая пружина, нормально отжимающая боёк от капсюля патрона; 9– пластина, на которой крепятся пластинчатые пружины, отжимающие бойки; 10–ползун; 1 1–выступы ползуна, взаимо — действующие с бойками для производства выстрелов при перемещении ползуна; 12–головка штока, жестко связанная с ползуном; 13 пружина ползуна (боевая пружина); 14– полая гайка, через которую приходит шток; 15–шток; 16 — кольцо штока; 17– камера, в которой размещены спусковой и предохринительный механизмы; 18–шептало; 19–спусковой и предохранительный механизмы; 20 —ось спускового рычаги; 21– шнур, присоединенный к спусковому рычагу и руке носителя стреляющего устройства; 22–предохранитель; 23–пружина предохранителя; 24–серьга; 2 5–выключатель предохранителя; 26–шнур, присоединённый к выключателю предохранителя. Нормально бойки отжимаются пластинчатыми пружинами от капсюлей, но при перемещении ползуна смонтированные в нем выступы под действием боевой пружины ударяют по бойкам, которые, в свою очередь, ударяют по капсюлям патронов. Перед стрельбой ползун смещен в крайнее левое положение (в нем бойки сдвинуты от его выступов) и удерживается головкой штока, с которой он жестко связан шепталом, расположенным перед головкой. Случайное опускание шептала (деблокировка головки штока) исключается предохранителем, подпирающим шептало снизу. После выключения предохранителя, которое производится оттягиванием предохранителя вверх с помощью присоединенного к нему шнурка, шептало может быть выведено из-под головки штока ползуна спусковым рычагом, левая часть которого шнурком присоединена к руке. Другим шнурком присоединен выключатель предохранителя. Таким образом, при подъеме руки вверх головка штока ползуна освобождается и шток вместе с ползуном (под действием боевой пружины) перемещается вправо, выступы ползуна взаимодействуют с бойками, производящими выстрелы из всех стволов. На рисунке 277 — похожее стреляющее устройство. Оно предназначено для ношения на груди под одеждой и стрельбы при подъеме руки. Ствол для облегчения скрытого ношения нормально располагается вертикально, однако при подъеме руки вверх тросик, соединенный одним концом с кистью руки, а другим — со спусковым крючком, выключает шептало и специальная пружина поворачивает ствол в горизонтальное положение, производя выстрел. В комплект входит магазин с автоматической подачей патронов. На рисунке 278 — стреляющее устройство, вмонтированное в каблук ботинка, является однозарядным оружием скрытого ношения, представляющее собой ствол с патроном, вмонтированным в каблук ботинка. Ствол расположен таким образом, что ударник несколько выступает из каблука. Для производства выстрела достаточно ударить каблуком о какую-либо преграду либо о другую ногу, направляя («целясь») при этом ствол в сторону объекта. На рисунке 279 — стреляющее устройство с электрическим инициированием выстрела. Оно состоит: из дискообразного магазина с несколькими, расположенными вдоль окружности патронниками (магазин шарнирно прикреплен к фланцу основания и фиксируется на нем пружинной защелкой); электростреляющего устройства с кнопочным переключателем (крепится к ноге в области колена), питающегося от батарейки, которая переносится на грудном ремне; амортизирующей прокладки (на тыльной стороне основания устройства) и ремней, служащих для крепления устройства на теле. Используемый патрон отличается от обычных патронов с капсюлями ударного действия тем, что воспламенение порохового заряда производится электрической искрой, проскакивающей между центральным контактом (расположен в основании и изолирован от гильзы) и гильзой при подаче на центральный контакт напряжения. ![]() Рис. 277. ![]() Рис. 278. Стреляющий каблук ![]() Рис. 279. Стреляющее устройство с электрическим инициированием выстрелa: 1–дискообразное основание; 2–фланец диска; 3–пластина из изоляционного материала; 4–изоляционный материал, через который проходят контактные провода; 5–шарнир; 6–магазин с патронниками; 7– пружинная защелка магазина; 8–гнездо магазина для защёлки, 9–патронник; 10–патрон; 11– электроконтактные бойки, расположенные вдоль окружности с патронниками; 12–проводники, присоединенные к каждому электроконтактному бойку; 13–многожильный кабель с проводниками; 14–амортизирующая прокладки из губчатой резины, прикрепленная к тыльной стороне стреляющего устройства; 15– проушины для грудного ремня; 16–грудной ремень; 17– плечевые ремни; 18–подвижный контакт; 19–контактное кольцо; 20–контакты, связанные с проводниками электроконтактных бойков, к которым последовательно подсоединяется подвижный контакт; 21– упоры — ограничители подвижного контакта из изоляционного материала; 22–храповое устройство; 23– переключатель с кнопкой; 24–ремень для крепления переключателя на ноге; 25–сумка для батареи питания. |
![Иллюстрация к книге — Секретные инструкции ЦРУ и КГБ по сбору фактов, конспирации и дезинформации [i_282.jpg] Иллюстрация к книге — Секретные инструкции ЦРУ и КГБ по сбору фактов, конспирации и дезинформации [i_282.jpg]](img/book_covers/052/52096/i_282.jpg)
![Иллюстрация к книге — Секретные инструкции ЦРУ и КГБ по сбору фактов, конспирации и дезинформации [i_283.jpg] Иллюстрация к книге — Секретные инструкции ЦРУ и КГБ по сбору фактов, конспирации и дезинформации [i_283.jpg]](img/book_covers/052/52096/i_283.jpg)
![Иллюстрация к книге — Секретные инструкции ЦРУ и КГБ по сбору фактов, конспирации и дезинформации [i_284.jpg] Иллюстрация к книге — Секретные инструкции ЦРУ и КГБ по сбору фактов, конспирации и дезинформации [i_284.jpg]](img/book_covers/052/52096/i_284.jpg)
![Иллюстрация к книге — Секретные инструкции ЦРУ и КГБ по сбору фактов, конспирации и дезинформации [i_285.jpg] Иллюстрация к книге — Секретные инструкции ЦРУ и КГБ по сбору фактов, конспирации и дезинформации [i_285.jpg]](img/book_covers/052/52096/i_285.jpg)
![Иллюстрация к книге — Секретные инструкции ЦРУ и КГБ по сбору фактов, конспирации и дезинформации [i_286.jpg] Иллюстрация к книге — Секретные инструкции ЦРУ и КГБ по сбору фактов, конспирации и дезинформации [i_286.jpg]](img/book_covers/052/52096/i_286.jpg)
![Иллюстрация к книге — Секретные инструкции ЦРУ и КГБ по сбору фактов, конспирации и дезинформации [i_287.jpg] Иллюстрация к книге — Секретные инструкции ЦРУ и КГБ по сбору фактов, конспирации и дезинформации [i_287.jpg]](img/book_covers/052/52096/i_287.jpg)