Книга Готовим в микроволновой печи, страница 2 – Лидия Калугина

Авторы: А Б В Г Д Е Ж З И Й К Л М Н О П Р С Т У Ф Х Ч Ш Ы Э Ю Я
Книги: А Б В Г Д Е Ж З И Й К Л М Н О П Р С Т У Ф Х Ц Ч Ш Щ Ы Э Ю Я
Бесплатная онлайн библиотека LoveRead.in

Онлайн книга «Готовим в микроволновой печи»

📃 Cтраница 2
Иллюстрация к книге — Готовим в микроволновой печи [i_001.jpg]

Рис. 1. Работа микроволн в СВЧ-печи


Печью могут пользоваться и дети школьного возраста: можно быстро разогреть приготовленную пищу, приготовить себе горячие бутерброды. Подойдут такие печи и одиноким людям, не обременяющим себя кулинарными заботами.

В развитых странах, по статистическим данным, более 3/4 семей имеют микроволновые печи. В России с каждым годом увеличиваются продажи микроволновок, особенно в Москве. К сожалению, в большинстве регионов процесс идет не столь быстро, по всей вероятности доходы российских граждан сдерживают темпы роста продаж. Но, несмотря на это, печи СВЧ постепенно занимают достойное место и в российских семьях.

Рынок микроволновых печей довольно разнообразен, начиная от самых простых моделей до сложных, комбинированных с комплексным использованием микроволн, конвекции и гриля. Самые покупаемые – печи относительно простой конструкции с объемом камеры 20–28 литров являются оптимальными для небольшой семьи (рис. 2).

Иллюстрация к книге — Готовим в микроволновой печи [i_002.jpg]

Рис. 2. Микроволновая печь Samsung C100R/C100BR:

1 – дверца; 2 – муфта; 3 – роликовая подставка; 4 – вращающийся поднос; 5 – блокировочные контакты; 6 – панель управления; 7 – освещение; 8 – нагревательный элемент гриля; 9 – вентиляционные отверстия; 10 – защелки дверцы


Если Вы планируете использовать СВЧ печь для размораживания продуктов, разогревания готовой пищи и приготовления несложных блюд – режима микроволн будет вполне достаточно. Для приготовления выпечки, мясных блюд и курицы с аппетитной корочкой потребуется печь с режимом микроволн и конвекции, а также микроволн и гриля.

Современные печи оснащены электронной памятью. Если Вы часто готовите или разогреваете одни и те же блюда, то можно сохранить в памяти печи время приготовления и уровень мощности, чтобы не пришлось устанавливать их вновь каждый раз.

Таким образом, в дальнейшем нажатием одной кнопки запускается программа разогревания или приготовления пищи.

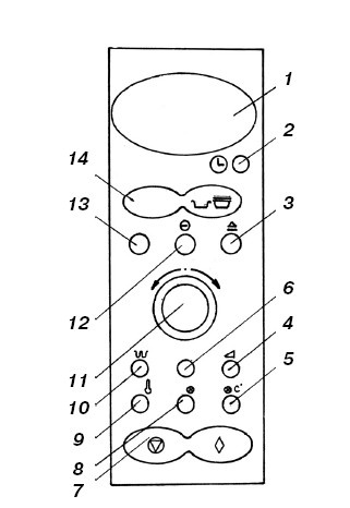
Одна из главных характеристик микроволновых печей – мощность. На рынке представлены печи с уровнем мощности от 500 до 1100 Вт, где установка мощности аналогична установке температуры в обычной печи. Функция ” Уровень мощности” позволяет выбрать количество рассеиваемой микроволновой энергии и задать время, необходимое для приготовления или разогревания данного блюда. Если выбирают более высокий уровень мощности, то время приготовления должно быть уменьшено и наоборот. Все режимы устанавливаются на панели управления (рис. 3).

Иллюстрация к книге — Готовим в микроволновой печи [i_003.jpg]

Рис. 3. Панель управления Samsung (C100R/C100BR):

1 – дисплей; 2 – установка времени; 3 – корректировка времени; 4 – выбор уровня мощности; 5 – выбор температуры; 6 – режим «микроволны+гриль»; 7 – «стоп/отмена»; 8 – «микровалны+горячий воздух»; 9 – предварительный прогрев; 10 – «гриль»; И – выбор веса порции и рецепта; 12 – выбор функции приготовления; 13 – время выдержки; 14 – режим автоматического размораживания


Необходимо помнить, что после выключения печи процесс приготовления и разогревания продолжается еще несколько минут. Поэтому в некоторых моделях печей существует таймер выдержки – когда время выдержки (после отключения микроволн) закончится, печь подает сигнал.

В печах с функцией комбинирования микроволн и конвекции можно готовить жареное мясо и птицу, блюда из яиц и сыра, а также пироги, торты, запеканки, жареные овощи. На задней стенке внутренней камеры печи находится нагревательная спираль и вентилятор. Циркулирующий с большой скоростью горячий воздух равномерно проникает в приготовляемый продукт, образуя подрумяненную корочку. С помощью этой функции при небольшой мощности прекрасно готовятся булочки, пирожки, кексы и макаронные изделия. Такой режим позволяет готовить одновременно пищу на вращающейся тарелке и на решетке из специального сплава, которая прилагается в комплекте к печи (рис. 4).

Иллюстрация к книге — Готовим в микроволновой печи [i_004.jpg]

Рис. 4. Сменное оборудование микроволновой печи:

1 – вращающийся поднос; 2 – подставка (решетка)


Нагревательный элемент гриля расположен под потолком внутренней камеры печи и работает он только при закрытой дверце камеры и только тогда, когда поднос вращается. Вращение подноса обеспечивает более равномерное подрумянивание блюд, особенно, если гриль предварительно прогреть в течение 3–4 минут.

Комбинированное применение микроволн и гриля позволяет готовить всевозможные запеканки, мясные блюда, шашлыки, при этом для приготовления в таком режиме лучше подходят крупные куски мяса или рыбы и запеканки, более мелкие куски лучше жарить только в режиме "гриль" во избежание пережаривания. Для облегчения пользования панелью управления СВЧ-печей разработаны унифицированные символы (рис. 5).

Иллюстрация к книге — Готовим в микроволновой печи [i_005.jpg]

Рис. 5. Унифицированные символы:

1 – режим микроволн; 2 – микроволны+гриль; 3 – микроволны+горячий воздух; 4 – режим гриля; 5 – обработка горячим воздухом; 6 – гриль + горячий воздух


В этих комбинированных режимах используются только те кухонные принадлежности, через которые могут проходить микроволны, но они не должны быть воспламеняющимися, нельзя использовать пластик и металлическую посуду. Более подробно об этом будет сказано в разделе «Посуда для микроволновой печи».

При этом печи могут работать и без микроволн – только в режиме конвекции как обычный духовой шкаф или в режиме " гриль" как обычный гриль. Но в таких режимах поверхность печей сильно нагревается. Будьте осторожны!

Печи СВЧ совершенно безопасны в работе. Рабочая камера герметично закрыта и во время работы печи можно спокойно находиться рядом. Если Вы открываете дверцу камеры – работа печи мгновенно прекращается и можно проконтролировать процесс приготовления пищи. Печь может быть установлена на любой поверхности, будь то кухонный стол, передвижной столик или тележка. Подключается печь только к заземленной розетке, способной выдержать потребляемую печью мощность. Доступ к розетке должен быть свободным.

Какие продукты можно готовить в микроволновке? Почти все продукты идеально подходят для обработки микроволнами: будь то свежие или замороженные овощи и фрукты, крупяные и макаронные изделия, грибы и бобовые, рыба, упомянутые выше мясо, птица и выпечка.

Наилучшим образом преимущества микроволновой печи проявляются при приготовлении овощных, мясных и рыбных блюд.

Вход
Поиск по сайту
Ищем:
Календарь