Книга Сварочные работы. Практический справочник, страница 47 – Сергей Кашин

Авторы: А Б В Г Д Е Ж З И Й К Л М Н О П Р С Т У Ф Х Ч Ш Ы Э Ю Я
Книги: А Б В Г Д Е Ж З И Й К Л М Н О П Р С Т У Ф Х Ц Ч Ш Щ Ы Э Ю Я
Бесплатная онлайн библиотека LoveRead.in

Онлайн книга «Сварочные работы. Практический справочник»

📃 Cтраница 47

✓ ручная – Р;

✓ полуавтоматическая – П;

✓ автоматическая – А.

✓ дуговая под флюсом – Ф;

✓ сварка в активном газе плавящимся электродом – УП;

✓ сварка в инертном газе плавящимся электродом – ИП;

✓ сварка в инертном газе неплавящимся электродом – ИН.

Для сварных соединений также имеются специальные буквенные обозначения:

✓ стыковое – С;

✓ тавровое – Т;

✓ нахлесточное – Н;

✓ угловое – У. По цифрам, проставленным после букв, определяют номер сварного соединения по ГОСТу на сварку.

Обобщая сказанное выше, можно констатировать, что условные обозначения сварных шов складываются в определенную структуру (рис. 93).

Иллюстрация к книге — Сварочные работы. Практический справочник [i_157.jpg]

Рис. 93. Структура условных обозначений сварного шва: 1 – сварной шов; 2 – вспомогательные знаки шва по замкнутой линии; 3 – дефис; 4 – вспомогательные знаки; 5 – для прерывистого шва – длина шва, знак или, шаг; 6 – для точечного шва – размер точки; 7 – для контактной сварки – диаметр точки, знак или, шаг; 8– для шовной сварки – длина шва; 9 – ширина и длина шва, знак или, шаг; 10 – знак и катет по стандарту; 11 – условное изображение способа сварки; 12 – тип шва; 13 – стандарт соединения


В качестве примера расшифруем обозначение:

Иллюстрация к книге — Сварочные работы. Практический справочник [i_158.jpg]

✓ шов располагается на невидимой стороне – обозначение находится под полочкой;

✓ тавровое соединение, шов № 4 по ГОСТу 14771–76 – Т4;

✓ сварка в углекислом газе – У;

✓ сварка полуавтоматическая – П;

✓ длина катета 6 мм —

Иллюстрация к книге — Сварочные работы. Практический справочник [i_159.jpg]
6;

✓ шов прерывистый с шахматным расположением участков – 50

Иллюстрация к книге — Сварочные работы. Практический справочник [i_160.jpg]
150.

Дефекты сварных соединений

Несоответствие сварного соединения техническим требованиям, изложенным в нормативной документации, называется дефектом. ГОСТы регламентируют все необходимые параметры (конструктивные размеры, форму сварного шва, его прочность, пластичность, геометричность и др.), которые должны быть выдержаны при выполнении сварочных работ.

Однако соединения могут отклоняться от заданных в нормативно-технической документации параметров, что нередко приводит к разрушению как самого сварного шва, так и всей конструкции, что, разумеется, нельзя считать положительным моментом.

Чтобы не допускать такого развития событий, необходимо точно знать, какими дефектами могут сопровождаться сварочные работы, каковы их причины и способы предупреждения или устранения.

В сварных соединениях могут возникать различные дефекты. В соответствии с расположением они подразделяются на две большие группы – наружные и внутренние.

К наружным относятся следующие дефекты:

1. Дефекты формы шва (рис. 94), процесс формирования которых непосредственным образом связан с выбранным режимом сварки (прежде всего с величиной, родом и полярностью тока, напряжением дуги и скоростью сварки) и пространственным положением сварного соединения.

Иллюстрация к книге — Сварочные работы. Практический справочник [i_161.jpg]

Рис. 94. Дефекты формы шва: а – неравномерная ширина;

б – бугры и седловины


Имеют значение также квалификация сварщика (отсутствие или недостаточность которой приводят к наложению неравномерных по ширине швов, образованию бугров и седловин вследствие неравномерности приложенных усилий), неправильное манипулирование электродом и нарушение величины зазора кромок. Все это заканчивается ухудшением прочностных характеристик сварного соединения и образованием внутренних дефектов.

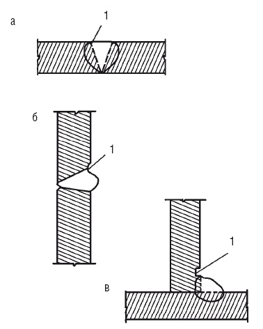
2. Подрезы (углубления) в основном металле, появляющиеся по краям сварного шва (рис. 95).

Их глубина может доходить до нескольких миллиметров. Причины подрезов различны.

Например, это могут быть большая сила тока, высокое напряжение, смещение электрода по отношению к оси шва, проблемное пространственное положение, затрудняющее сварку, или низкая квалификация исполнителя работ.

Иллюстрация к книге — Сварочные работы. Практический справочник [i_162.jpg]

Рис. 95. Подрез сварного шва: а – в стыковом соединении; б – в горизонтальном шве на вертикальной поверхности; в – в угловом шве таврового соединения; 1 – подрез


В результате подрезов рабочая толщина металла уменьшается, они становятся очагами концентрации внутренних напряжений, развивающихся при нагрузке, и в процессе эксплуатации изделия или конструкции могут привести к разрушению соединения. Наибольшую опасность представляют подрезы, направленные поперек усилий, которые воздействуют на них в угловых и стыковых швах.

Возникновение подреза зависит от соотношения между скоростью затвердевания (кристаллизации) сварного шва и скоростью заполнения углубления расплавленным металлом.

Отсюда следует, что для недопущения или устранения данного дефекта необходимо либо снизить скорость кристаллизации, либо повысить скорость заполнения углубления. Как правило, прибегают к первому варианту, для чего проводят предварительный подогрев свариваемых частей (этот способ работает благодаря улучшению смачиваемости твердого металла жидким за счет имеющейся между ними разности температур) или осуществляют многоэлектродную сварку.

3. Прожоги (рис. 96), т. е. сквозные отверстия в сварном шве, причины появления которых весьма различны.

Повышение погонной энергии сварочной дуги приводит к увеличению объема жидкого металла. Если это произошло в результате повышения силы сварочного тока, то одновременно возрастет и давление дуги. Совокупность описанных процессов может привести к тому, что силы гидростатического давления и давления сварочной дуги превысят силу поверхностного натяжения расплавленного металла, который вытечет, образовав прожог.

Иллюстрация к книге — Сварочные работы. Практический справочник [i_163.jpg]

Рис. 96. Прожог в горизонтальном шве

Вход
Поиск по сайту
Ищем:
Календарь