Книга Сварочные работы. Практический справочник, страница 37 – Сергей Кашин

Авторы: А Б В Г Д Е Ж З И Й К Л М Н О П Р С Т У Ф Х Ч Ш Ы Э Ю Я
Книги: А Б В Г Д Е Ж З И Й К Л М Н О П Р С Т У Ф Х Ц Ч Ш Щ Ы Э Ю Я
Бесплатная онлайн библиотека LoveRead.in

Онлайн книга «Сварочные работы. Практический справочник»

📃 Cтраница 37
Иллюстрация к книге — Сварочные работы. Практический справочник [i_105.jpg]

Рис. 60. Траектория перемещения наклонного электрода при наплавке узких валиков (цифры означают последовательность движений): а – под острым углом; б – лесенкой (с приближением и отведением электрода от поверхности металла); в – с обратноступенчатым перемещением электрода сначала на 3–4 его диаметра вверх и вдоль поверхности металла, а потом назад к сварочной ванне

Иллюстрация к книге — Сварочные работы. Практический справочник [i_106.jpg]

Рис. 61. Траектория перемещения электрода при наплавке широких валиков: а – прямоугольная; б – криволинейная


✓ сверху вниз (на спуск) (рис. 63). В отличие от предыдущего способа в данном случае возбуждают в верхней точке шва, придавая электроду первоначально перпендикулярное положение, а после образования кратера – наклонное. Этот способ чаще всего применяют при сварке тонколистового металла и для выполнения первых слоев в тех случаях, когда имеется разделка кромок.

Иллюстрация к книге — Сварочные работы. Практический справочник [i_107.jpg]

Рис. 62. Техника выполнения вертикального шва снизу вверх: а – возбуждение дуги; б – возникновение сварочной ванны; в – движение электрода на подъем


Для стыковых горизонтальных соединений требуется подготовка лишь верхней кромки, что значительно сокращает стекание жидкого металла.

Возбужденную на нижней горизонтальной кромке сварочную дугу перемещают на кромку со скосом.

При этом электрод держат вертикально или углом назад либо вперед.

Иллюстрация к книге — Сварочные работы. Практический справочник [i_108.jpg]

Рис. 63. Техника выполнения вертикального шва сверху вниз: а – возбуждение дуги; б – возникновение сварочной ванны; в – движение электрода на спуск


Движения совершают в определенной последовательности, показанной на рис. 64.

Самыми трудными являются потолочные швы (рис. 65), при которых расплавленный металл стремится вытечь из сварочной ванны.

Иллюстрация к книге — Сварочные работы. Практический справочник [i_109.jpg]

Рис. 64. Порядок наплавки слоев при сварке горизонтального шва


В связи с этим ее объем должен быть минимальным, дуга – максимально короткой, покрытие электрода – тугоплавким, дающим незначительное количество шлака, а величина сварочного тока должна быть на 15–20 % меньше по сравнению с током при выполнении нижних швов.

Иллюстрация к книге — Сварочные работы. Практический справочник [i_110.jpg]

Рис. 65. Техника выполнения потолочного шва (стрелкой указана схема перемещения электрода)


Высокопроизводительные способы сварки

Для повышения производительности ручной дуговой сварки разработано несколько способов.

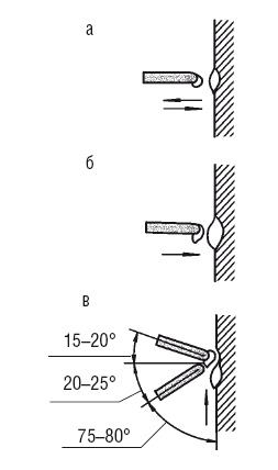
1. Один из них называется сваркой с глубоким проплавлением (благодаря такому методу производительность труда возрастает примерно на 50–70 %), в основу которого положено уменьшение объема наплавленного металла на единицу длины сварного шва. Чтобы добиться этого, применяют электрод с увеличенной толщиной покрытия. Поскольку его стержень расплавляется быстрее, чем покрытие, то последнее образует своеобразный «чехольчик», опираясь на который сварщик перемещает электрод вдоль шва, причем совершать колебательные движения не требуется. При сварке электрод надо наклонять к линии шва под углом в 70–80° (рис. 66).

В процессе сварки расплавленный металл под давлением газов стремится в сторону, противоположную движению электрода, и формирует валик шва.

Одновременно с этим основной металл открывается и оказывается под непосредственным воздействием сварочной дуги.

Для образования узкого шва необходимо увеличить нажим на электрод в направлении сварки, а для получения широкого шва – ослабить его.

Глубина проплавления основного металла возрастает за счет короткой дуги и значительной концентрации теплоты. При этом «чехольчик» препятствует разбрызгиванию металла и снижает его потери на угар. Сварочный ток повышают на 40–60 %, что тоже способствует увеличению глубины проплавления (с каждыми 50 А глубина провара увеличивается на 1 мм).

Иллюстрация к книге — Сварочные работы. Практический справочник [i_111.jpg]

Рис. 66. Положение электрода при сварке с глубоким проплавлением (стрелкой указано направление сварки): 1 – шлак; 2 – металл шва; 3 – сварной шов; 4 – электрод; 5 – основной металл


2. Повышает производительность сварочных работ применение одновременно двух или нескольких электродов. Сдвоенный электрод образуют два стержня длиной 450 мм, изготовленные из электродной проволоки. Их складывают вместе и наносят общий слой покрытия, вес которого должен составлять 25 % от веса стержней. Приемы сварки не отличаются от тех, что ведутся одиночным электродом (это касается и сварочного тока, который может быть как постоянным, так и переменным). Основная разница заключаются в том, что:

✓ сдвоенный электрод держат так, чтобы оси его стер жней попадали в плоскость оси шва;

✓ электродержатель должен поддерживать контакт с обоими стержнями электрода;

✓ шов располагают под небольшим углом (5–10°);

✓ рабочий ведет сварку по направлению к себе и наклоняет электрод под углом в 60–70° к поверхности металла.

Сварка сдвоенными электродами обладает следующими преимуществами:

✓ позволяет работать при повышенном токе, благодаря чему объем наплавленного металла и производительность труда возрастают на 50–80 %;

✓ время полезного горения дуги увеличивается вдвое, поскольку можно сказать, что работа ведется электродом длиной 900 мм. Следовательно, время, отведенное на смену электрода, сокращается в 2 раза;

✓ снижаются потери металла (при сварке одиночным электродом они составляют 20–25 %, а при сдвоенном – 8–10 %);

✓ условия труда улучшаются, потому что при стабильном горении сварочной дуги электрод не перегревается, а жидкий металл меньше разбрызгивается;

✓ за один проход можно сварить металл толщиной до 12 мм.

Количество электродов можно увеличить. В этом случае сварку осуществляют пучком электродов, которые складывают и прихватывают в точке контакта с электродержателем, вследствие чего одновременно все электроды обеспечиваются током (хотя корневой шов следует накладывать одиночным электродом). Благодаря такой работе производительность сварки повышается примерно в 2 раза, а расход электроэнергии снижается приблизительно на 20–30 %.

Вход
Поиск по сайту
Ищем:
Календарь