Онлайн книга «Сварочные работы. Практический справочник»
|
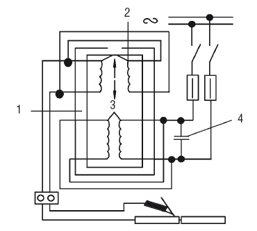
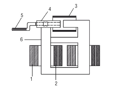
Сварочный ток регулируется благодаря изменению величины либо индуктивного сопротивления, либо вторичного напряжения холостого хода трансформатора, что осуществляется посредством секционирования числа витков первичной или вторичной обмотки. Это обеспечивает ступенчатое регулирование тока. Главный минус всех сварочных трансформаторов – низкий коэффициент мощности cos φ, что объясняется конструкцией трансформатора, в котором падающая вольт-амперная характеристика порождается высокой индуктивностью сварочной цепи. Для стабильного возбуждения сварочной дуги требуется напряжение холостого хода трансформатора на уровне 65 В, в то время как напряжение сварочной цепи составляет 20–30 В. Вследствие возникшего индуктивного сопротивления потери мощности возрастают. Поэтому коэффициент мощности cos φ сварочных трансформаторов должен составлять 0,4–0,5. Сварочные трансформаторы на основании различных показателей классифицируются следующим образом: 1) по количеству обслуживаемых рабочих мест на: ✓ однопостовые, рассчитанные на одно рабочее место, поэтому обладают соответствующей вольт-амперной характеристикой; ✓ многопостовые, предназначенные для одновременного обслуживания нескольких рабочих мест. Они имеют жесткую характеристику, но благодаря включению в электрическую цепь дросселя создается падающая внешняя характеристика, обеспечивающая стабильное горение сварочной дуги; 2) по фазности на: ✓ однофазные. ✓ трехфазные. 3) по конструкции на устройства: а) с нормальным магнитным рассеянием и отдельной реактивной (дроссельной) обмоткой, которая последовательно включается в сварочную цепь. Дроссель может заключаться в отдельный корпус или выполняться на общем сердечнике (рис. 32). ![]() Рис. 32 (18). Электрическая схема трансформатора с дросселем: а – в отдельном корпусе; 1 – реактивная катушка; 2 – зазор в регуляторе; б – на общем сердечнике; 1 – реактивная катушка; 2 – зазор в регуляторе Падающая характеристика и регулировка сварочного тока происходят за счет электродвижущей силы (ЭДС) самоиндукции, которая возникает в обмотке дросселя исключительно при наличии в ней сварочного тока. Составная часть магнитопровода дроссельной катушки – подвижной пакет, который, в свою очередь, является частью магнитопровода дросселя. От величины зазора в магнитном пакете зависит величина магнитного потока в данном магнитопроводе: он тем больше, чем меньше зазор, и наоборот. Величина магнитного потока определяет величину индуктированной ЭДС самоиндукции. Последняя постоянно направлена навстречу движению сварочного тока в цепи, который бывает тем меньше, чем больше ЭДС. Максимальная же величина ЭДС самоиндукции наблюдается при минимальном зазоре в подвижном пакете магнитопровода. Если зазор большой, то магнитный поток и ЭДС будут наименьшими, поэтому сварочный ток будет максимальным, ведь при прохождении по провод нику на его пути нет препятствий. Благодаря описанным явлениям величина тока плавно регулируется, что и обеспечивает падающую характеристику источника тока и точно настроенный режим сварки. Подобная схема была распространена приблизительно до 1967 года и хорошо работала, хотя не была лишена недостатков: трансформаторы, например, весили достаточно много, вследствие потерь отмечалось падение КПД, а также увеличивался расход цветных металлов. Сейчас трансформаторы с дросселем в отдельном корпусе сняты с производства и заменены устройствами в однокорпусном варианте, например трансформаторы типа ТСД и СТН (рис. 33) с аналогичным принципом действия; б) с развитым магнитным рассеянием. При увеличенных магнитных потоках во вторичной обмотке трансформатора возникает реактивная ЭДС. ![]() Рис. 33. Электрическая схема трансформатора типа СТН: 1 – первичная обмотка; 2 – вторичная обмотка; 3 – обмотка дросселя; 4 – подвижной пакет магнитопровода; 5 – рукоятка; 6 – магнитопровод Трансформаторы данной группы неоднородны и подразделяются на конструкции: ✓ с магнитными шунтами, например СТАН-0, ОСТА-350 и др. Несмотря на то что они надежны и удобны в применении, они уже не выпускаются, так как весьма неэкономичны (приводят к повышенному расходованию металла и электроэнергии); ✓ с подвижной катушкой (марок ТД, ТДМ и др.) (рис. 34), производство которых поставлено на поток. Они отличаются хорошей динамикой, плавным регулированием и способностью удерживать ток на заданном уровне. Данные трансформаторы бывают однофазными, стержневого типа, отличаются увеличенной индуктивностью рассеяния. ![]() Рис. 34. Электрическая схема трансформатора с подвижными катушками: 1 – магнитопровод; 2 – вторичная обмотка; 3 – первичная обмотка; 4 – конденсатор Конструктивно они устроены следующим образом: катушки первичной обмотки зафиксированы, а катушки вторичной обмотки, напротив, являются подвижными. Регулирование сварочного тока осуществляется путем изменения промежутка (для этого предназначается рукоятка) между обмотками: при минимальном расстоянии ток возрастает (рукоятка поворачивается по часовой стрелке), а при максимальном расстоянии он снижается. У трансформатора имеется специальный конденсатор (фильтр), который устраняет радиопомехи, неизбежные при сварочных работах. Сварочный трансформатор типа ТСК-500 показан на рис. 35; в) с жесткой характеристикой. Такие трансформаторы используются при электрошлаковой сварки (при ней дугового процесса практически нет, а сварка возможна за счет высокой температуры расплавленного шлака, которая доходит до 2000 °C, и прохождения через него тока) и рассчитаны на ток 1000–3000 А. ![]() Рис. 35. Схема сварочного трансформатора ТСК-500: а – конструктивная; б – электрическая; 1 – зажимы для сетевых проводов; 2 – магнитопровод; 3 – рукоятка регулировки тока; 4 – зажимы для сварочных проводов; 5 – ходовой винт; 6 – катушка вторичной обмотки; 7 – катушка первичной обмотки; 8 – конденсатор Модели бывают одно– (ТШС-1000–1, ТШС-3000–1) и трехфазными (ТШС-1000–3, ТШС-3000–3, ТШС-600–3). Для регулирования напряжения во вторичной электрической цепи предназначаются секционные первичные и вторичные обмотки. С помощью контроллера, работа ющего от электродвигателя и управляющегося дистанционно, осуществляется переключение витков первичной обмотки, за которым следует изменение вторичного напряжения в сварочной цепи. Для переключения витков вторичной обмотки производится перестановка перемычек. |
![Иллюстрация к книге — Сварочные работы. Практический справочник [i_062.jpg] Иллюстрация к книге — Сварочные работы. Практический справочник [i_062.jpg]](img/book_covers/049/49723/i_062.jpg)
![Иллюстрация к книге — Сварочные работы. Практический справочник [i_063.jpg] Иллюстрация к книге — Сварочные работы. Практический справочник [i_063.jpg]](img/book_covers/049/49723/i_063.jpg)
![Иллюстрация к книге — Сварочные работы. Практический справочник [i_064.jpg] Иллюстрация к книге — Сварочные работы. Практический справочник [i_064.jpg]](img/book_covers/049/49723/i_064.jpg)
![Иллюстрация к книге — Сварочные работы. Практический справочник [i_065.jpg] Иллюстрация к книге — Сварочные работы. Практический справочник [i_065.jpg]](img/book_covers/049/49723/i_065.jpg)