Книга Парники и теплицы. Строим и выращиваем, страница 9 – С. Калюжный

Авторы: А Б В Г Д Е Ж З И Й К Л М Н О П Р С Т У Ф Х Ч Ш Ы Э Ю Я
Книги: А Б В Г Д Е Ж З И Й К Л М Н О П Р С Т У Ф Х Ц Ч Ш Щ Ы Э Ю Я
Бесплатная онлайн библиотека LoveRead.in

Онлайн книга «Парники и теплицы. Строим и выращиваем»

📃 Cтраница 9
Теплица-веранда

Такая теплица имеет несколько преимуществ. Она примыкает к дому – значит, одна стена у конструкции уже есть, причем капитальная, теплая. Вторым преимуществом является то, что за счет этого сооружения можно расширить полезную площадь индивидуального дома. Кроме того, возведение подобной теплицы помогает рационально использовать и полезную площадь участка (рис. 13).

При проектировании теплицы-веранды необходимо учитывать расположение жилого дома. Теплицу следует возводить с южной или же юго-восточной стороны жилища. Лучше всего, если с постройкой соседствует кухня или комната общего назначения. Объясняется это расположением выхода в теплицу из дома – из спальни или детской обычно не выходят на веранду. Дверь из теплицы на улицу желательно располагать с южной стороны.

Иллюстрация к книге — Парники и теплицы. Строим и выращиваем [i_030.jpg]

Рис. 13. Схема пристенной теплицы-веранды:1 и 5 – лежни; 2 – стойки; 3 – поперечные брусья; 4 – поперечины; 6 – шпросы; 7 – место для тамбура; 8 – остекленный скат; 9 – стеллаж; 10 – трубы системы отопления; 11 – стойки для стеллажа;12 – вытяжная труба; 13 – радиатор отопления; 14 – вход труб водопровода и отопления; 15 – навесная полка


Перед началом строительства необходимо произвести разметку. Следует на земле с помощью колышков и веревки обозначить угловые точки будущей теплицы. Натянув веревку по диагоналям прямоугольника, нужно удостовериться, что все углы прямые. Затем необходимо на колышках выполнить отметку уровня пола в доме. После этого можно приступать к возведению фундамента.

Существует несколько видов фундамента для такой теплицы. Выбирать ту или иную конструкцию следует, ориентируясь на несущую способность грунта, а также финансовые возможности хозяина. Перед определением подходящего типа фундамента желательно проконсультироваться у специалиста.

При средней несущей способности грунта и его однородном составе наиболее приемлемый вариант – бетонные опоры. Их возводят прямо на месте. Для этого выкапывают яму глубиной 30–35 см, на дно насыпают небольшую подушку из песка или щебня, затем изготавливают опалубку 30 х 30 см из досок требуемой длины. После этого в опалубку вставляют приготовленную заранее металлическую арматуру и заливают в нее бетон. Чтобы доски опалубки не расходились, их обвязывают веревкой или фиксируют проволокой.

Иллюстрация к книге — Парники и теплицы. Строим и выращиваем [i_031.jpg]

На заметку!

Если грунт на участке относительно мягкий, то лучше возвести свайный фундамент. В качестве свай можно использовать бетонные опоры, которые забивают в землю, но это очень трудоемкий процесс, который требует применения тяжелой техники. Простой вариант – использовать в качестве свай рельсы или металлический профиль (стальные балки). Сваи должны быть достаточно длинными. Забивать их следует, стоя на специальной подставке-щите. В том случае, если свая при забивании встретит какую-либо преграду, например камень, необходимо забить сваю повторно, немного сдвинув ее в сторону.

Фундамент на бетонных плитах возводить сложнее, чем на сваях или опорах, и к тому же дорого. Однако у подобного фундамента есть одно ценное преимущество – он надежный. Такой фундамент рекомендуется сооружать на грунтах с малой несущей способностью: если в основании фундамента находится железобетонная плита, нагрузка распределяется по всей площади этой плиты. В том случае, если почва на участке рыхлая, под фундамент копают котлован, засыпают его щебнем или гравием, а поверх него располагают влаго– и теплоизолирующий материал, после чего размещают опалубку и арматуру и заливают бетоном. Такой фундамент считается наиболее надежным.

Цокольную часть конструкции возводят на фундаменте. Она может быть либо бетонной (необходима теплоизоляци), либо из шлакобетонных блоков, либо деревянной.

В последнем случае дерево должно быть пропитано специальным составом для защиты от гниения и сохранения в будущей теплице тепла. Кроме того, цоколь иногда выполняют из кирпичей. Такая конструкция требует оштукатуривания.

Каркас теплицы обычно делают деревянным. Лесоматериалы, пропитанные специальным составом, требуют обязательной покраски, так как пропитка неблагоприятным образом воздействует на растения.

Для изготовления столбов и перекрытий лучше использовать доски сечением 50 х 100 мм, а для конструкции крыши и выполнения лаг понадобятся более толстые брусья – сечением 50 х 150 мм. Толщина бруса зависит от величины пролетов: чем больше пролет, тем толще должен быть брус.

Перед строительством каркаса необходимо проложить по периметру цоколя (между каркасом и цоколем) влагоизоляцию.

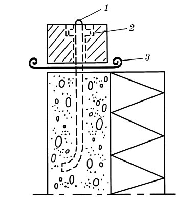
С этой целью можно применять рубероид и другие современные материалы. Затем на цоколь устанавливаются горизонтальные балки (рис. 14). Крепление производится в высверленные отверстия с помощью болтов. Во время работы следует пользоваться уровнемером и отвесом.

Иллюстрация к книге — Парники и теплицы. Строим и выращиваем [i_032.jpg]

Рис. 14. Установка горизонтальной балки на цоколь: 1 – болт; 2 – гайка и шайба; 3 – прокладка гидроизоляции


После выполнения обгона приступают к установке вертикальных элементов, а затем – балок. Среднее расстояние между стойками составляет не более 1,5 м. Самое главное в данный момент – учесть размеры стекла или другого материала, которым будет производиться остекление сооружения. Постепенно собирается каркас.

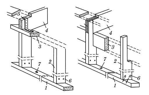
Вертикальные балки, примыкающие к фасаду здания, размещаются поверх горизонтальной балки, расположенной вдоль стены дома. Они соединяются вверху с балками крыши. Чтобы упрочнить соединение горизонтальных и вертикальных элементов, можно использовать, кроме гвоздей и болтов, стальные крепежные скобы (рис. 15). Все деревянные конструкции, если они без пропитки, обязательно покрываются антисептиком для защиты от гниения.

Иллюстрация к книге — Парники и теплицы. Строим и выращиваем [i_033.jpg]

Рис. 15. Два способа сопряжения горизонтальных и вертикальных конструкций теплицы: 1 – горизонтально расположенная балка сечением 50 х 125 мм; 2 – вертикально расположенный брус сечением 50 х 125 мм; 3 – балка сечением 50 х 125 мм; 4 – четырехкантный потолочный брус сечением 50 х 150 мм; 5 – крепежная скоба из стали; 6 – гвозди с гальваническим покрытием;7 – болт с гальваническим покрытием


Следующим этапом нужно укрепить облицовочные доски, сделать водостоки и устроить по верху теплицы гидроизоляцию. Кроме того, необходимо выполнить карниз крыши. Он понадобится для крепления водостоков (рис. 16).

Вход
Поиск по сайту
Ищем:
Календарь