Онлайн книга «Гипсокартонные работы. Секреты мастера»
|
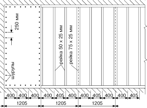
Если листы гипсокартона меньше высоты перегородки, сначала прикручиваем целые листы, затем кусок, не забывая о перемычках и необходимости размещения маленьких кусков в шахматном порядке. С другой стороны перегородки смещаем листы на расстояние, зависящее от шага стоек. На поперечные швы устанавливаем перемычки из обрезков перегородочного профиля или профиля CD-60. Монтируем их, прикручивая профиль одной половиной к одному листу, затем – прикручивая второй лист с прокручиванием уже зафиксированной перемычки. Выполняя двухслойную обшивку, располагаем листы первого слоя со смещением относительно второго слоя. Их не нужно полностью прикручивать, достаточно прихватить с помощью десятка саморезов, перемычки при этом не нужны. Второй слой гипсокартона прокручиваем чаще, с шагом 15–20 см, используя более длинные саморезы. Поперечные швы второго слоя связываем между собой, прикручивая с внутренней стороны первого слоя гипсокартона металлический профиль в местах, где планируется размещение шва второго слоя, либо просто проклеивая швы и прикладывая к листу первого слоя. В местах навешивания тяжелого оборудования усиливаем перегородку с помощью деревянного бруса, вставленного по всей длине стоечного профиля внутрь для максимального усиления, либо горизонтально, прокладывая между стоечными профилями куски бруса, плотной фанеры или OSB. Можно установить дополнительные перемычки из металлического профиля. Стойки располагаем с шагом от 40 см, обшивать кухонную либо ванную перегородку можно только влагостойкими листами. Для повышения звукоизоляционных характеристик перегородки следует отделить направляющие профиля от ее основания звукоизоляционными лентами. Можно использовать самоклеящиеся звукоизоляционные ленты, наклеиваемые на направляющий UW-профиль, либо использовать подложку для ламината, нарезав ее на полоски нужной ширины и подложив под направляющий профиль перед его креплением. Внутрь перегородки уложим минеральную вату – наиболее эффективный звукоизолятор. Толщину ваты следует выбирать, исходя из толщины перегородки. Ее не должно быть мало, но она не должна и сжиматься, так как в этом случае ухудшаются ее свойства. В идеале толщина ваты должна соответствовать ширине профиля. Итак, делаем простейшую перегородку. Проводим разметку линий установки перегородки на полу, стенах и потолке. На полу отмечаем места для установки стоечных профилей (рис. 5.2, 5.3). Исходя из типа и толщины гипсокартонных листов, отчерчиваем места будущих дверных проемов. Рис. 5.2. Разметка пола под перегородку ![]() Рис. 5.3. Перенос разметки на перегородку ![]() Установив и закрепив направляющие и стоечные профили в местах примыкания к смежным конструкциям либо друг к другу (в случае если мы монтируем перегородку на двойной каркас), оклеиваем их уплотнительной лентой либо герметиком из линеек. Затем крепим направляющие профили, определяя шаг дюбелей сделанной разметкой. Сверлим отверстия диаметром 6 мм, глубиной 40–60 мм. Если вы возводите не металлический, а деревянный каркас, крепим его элементы с помощью шурупов по дереву с крупной резьбой (рис. 5.4). Рис. 5.4. Облицовка по деревянному каркасу ![]() Выровняв с помощью уровня верхние направляющие профили, фиксируем их дюбелями с шагом, не превышающим 1000 мм (рис. 5.5). На один профиль – не менее трех креплений, расстояние от крайних крепежных дюбелей до конца профиля – от 500 мм. Подгоняем профили по длине с помощью ножниц по металлу. Используя отвес, устанавливаем стоечные профили в направляющие с шагом 600 мм. Сначала вставляем стойки в нижний, затем в верхний направляющий профиль, следя, чтобы стойка входила в направляющую на потолке минимум на 20 мм, а высота стоечных профилей была меньше высоты помещения на 10 мм. Если высота обшивки превышает длину листа в 2500 мм, монтируем горизонтальные отрезки направляющего профиля в местах торцевых стыков листов, смещая их для большей прочности относительно друг друга по вертикали на расстояние от 400 мм. Крепим листы к профилям в направлении от угла листа в двух обоюдно перпендикулярных направлениях – в одном направлении с открытой частью профиля, устанавливая шурупы как можно ближе к стенке. Важно, чтобы при креплении соседнего листа ввинчиваемый шуруп не отгибал внутрь полку профиля. Рис. 5.5. Крепление криволинейных конструкций к потолку ![]() Установив листы вертикально, закрепляем их на каркасе шурупами с шагом 250 мм от угла по двум взаимно перпендикулярным друг другу направлениям, между расположенными рядом листами должно остаться расстояние в 5–7 мм для отделки швов. Швы не должны располагаться на стойках, к которым крепится дверная коробка, место их соединения – на промежуточной стойке, установленной над горизонтальной перемычкой из профиля. Иными словами, вырезаем в листе форму, соответствующую дверному проему. Сверху и снизу крепим листы непосредственно к направляющим профилям на расстоянии не менее 10 мм от кромки, а если она не покрыта картоном – не менее 15 мм, определив место шурупа продольной канавкой на полке стоечного профиля. Вворачиваем шурупы под прямым углом на глубину от 10 мм, следя, чтобы не растрепалась бумага. Топим головки в толще листа на глубину от 1 мм. Если шуруп испорчен, удаляем его и крепим новый на расстоянии 50 мм от прежнего. После укладки между стоечными профилями изоляционного материала устанавливаем и закрепляем гипсокартонные листы с другой стороны каркаса, добиваясь, чтобы вертикальные швы между листами сместились относительно обшивки первой стороны на шаг стоечных профилей. Дверные коробки устанавливаем одновременно с монтажом каркаса перегородок. Монтируем по обе стороны дверной коробки дополнительные опорные стоечные профили, затем крепим коробки к вертикальному стоечному профилю каркаса. Можно обойтись без дополнительных элементов жесткости при условии, что высота помещения не превышает 2,6 м, ширина дверного полотна – 0,9 м, а масса дверного полотна – 25 кг. Если вес дверной коробки превышает 25 кг, стойки каркаса усиливают, запрессовывая в стойку деревянный брус, закрепленный шурупами-саморезами. Можно также установить дополнительный профиль (рис. 5.6–5.8). Рис. 5.6. Выкройка дверного проема в листе ![]() |
![Иллюстрация к книге — Гипсокартонные работы. Секреты мастера [_24.jpg] Иллюстрация к книге — Гипсокартонные работы. Секреты мастера [_24.jpg]](img/book_covers/049/49379/_24.jpg)
![Иллюстрация к книге — Гипсокартонные работы. Секреты мастера [_25.jpg] Иллюстрация к книге — Гипсокартонные работы. Секреты мастера [_25.jpg]](img/book_covers/049/49379/_25.jpg)
![Иллюстрация к книге — Гипсокартонные работы. Секреты мастера [_26.jpg] Иллюстрация к книге — Гипсокартонные работы. Секреты мастера [_26.jpg]](img/book_covers/049/49379/_26.jpg)
![Иллюстрация к книге — Гипсокартонные работы. Секреты мастера [_27.jpg] Иллюстрация к книге — Гипсокартонные работы. Секреты мастера [_27.jpg]](img/book_covers/049/49379/_27.jpg)
![Иллюстрация к книге — Гипсокартонные работы. Секреты мастера [_28.jpg] Иллюстрация к книге — Гипсокартонные работы. Секреты мастера [_28.jpg]](img/book_covers/049/49379/_28.jpg)