Книга Гараж. Строим своими руками, страница 21 – Иван Никитко

Авторы: А Б В Г Д Е Ж З И Й К Л М Н О П Р С Т У Ф Х Ч Ш Ы Э Ю Я
Книги: А Б В Г Д Е Ж З И Й К Л М Н О П Р С Т У Ф Х Ц Ч Ш Щ Ы Э Ю Я
Бесплатная онлайн библиотека LoveRead.in

Онлайн книга «Гараж. Строим своими руками»

📃 Cтраница 21

Не рекомендуется оборудовать в гараже смотровую яму. Это связано с тем, что испарения из ямы вследствие перепада температур будут образовывать коррозионно-активный конденсат, который в короткие сроки может повредить металлические части днища автомобиля. Но если яма необходима, можно устроить ее в стороне от места стоянки автомобиля. В крайнем случае оборудованная под местом стоянки автомобиля смотровая яма должна закрываться крышкой. Для удобства пользования крышка может состоять из нескольких частей.

Глава 11. Отделочные работы

Все отделочные работы, с которыми можно столкнуться при постройке гаража, можно отнести к внутренним и наружным. Внутренние — штукатурные и малярные работы, наружные — штукатурные и облицовочные.

Штукатурные работы

Штукатурка — это ровный слой строительного раствора, нанесенного в один или несколько приемов на поверхность стены. По назначению различают обычную и специальную штукатурку, по виду связующего — цементную, известковую, цементно-гипсовую, цементно-известковую.

Штукатурка защищает стены от неблагоприятного влияния окружающей среды (осадки) или внешних повреждений (возгорание). Штукатурка играет роль теплоизолирующего слоя. За ней необходим уход, а после длительной эксплуатации потребуется и ремонт.

Оштукатуривание начинается с подготовки поверхности. Стену очищают от грязи, пятен и наплывов раствора. Непосредственно перед оштукатуриванием стену следует промыть водой. На стене, сложенной из кирпича, топором насекают швы глубиной не менее 1 см или обрабатывают стальными щетками для получения шероховатой структуры. Если площадь стены велика, то для ее обработки применяют пневмомолоток со скарпелем или троянкой. Затем поверхность стены обметают стальной щеткой.

Стены и другие конструкции, предназначенные для оштукатуривания, можно очистить от сажи и копоти 3 %-ным раствором соляной кислоты, а затем ополоснуть чистой водой. От масляных следов стену защищают, обмазывая глиной (иногда несколько раз). Перед штукатурными работами можно также обработать стены паром или песком под давлением.

При необходимости поверхность под штукатурку армируют сеткой. Сетку крепят гвоздями или скобами каждые 15 см к деревянным рейкам. Рейки крепят гвоздями к оштукатуриваемому основанию или привязывают к стальным стержням, которые формируют каркас из ячеек со стороной 15 см. Сетку закрепляют мягкой проволокой толщиной от 0,8 мм. Чтобы защитить ее от коррозии, можно использовать сурик или лак.

Поскольку штукатурка плохо держится на деревянных поверхностях, их обивают дранкой или специальными щитами. Для усиления теплоизоляции перед обивкой поверхности защищают теплоизоляционным материалом.

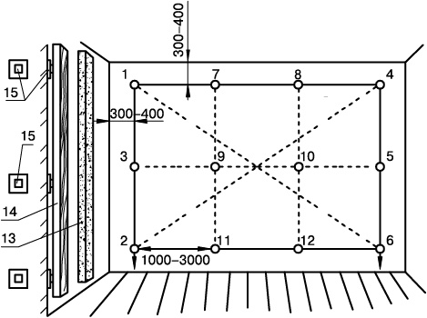
Чтобы определить толщину штукатурного слоя, нужно выполнить процедуру провешивания стен и потолков. Для этого в верхней части стены на расстоянии 30 см от каждого угла (по горизонтали) вбивают по гвоздю так, чтобы шляпки гвоздей выступали на толщину штукатурки. Со шляпок этих гвоздей опускают отвес на расстояние 30 см (по горизонтали) от пола, где забивают два гвоздя. Протянув шнур по диагоналям и горизонталям, определяют толщину штукатурки (рис. 11.1).

По линии шнуров забивают промежуточные гвозди, уровнем выравнивают шляпки гвоздей в одной плоскости. Вокруг гвоздей из штукатурного раствора формируют «марки» диаметром 8–9 см на 3–5 мм выше шляпок. Когда штукатурный раствор схватится, его срезают до уровня шляпок гвоздей. Порядок установки марок или обустройства маяков зависит от материала поверхности. Если поверхность под штукатурку выполнена из бетона, в который нельзя вбить гвоздь, то используют полые алебастровые марки в виде усеченной пирамиды с основанием 5 × 5 см. Для создания маяков можно также применять инвентарные деревянные правила сечением 3 × 4 или 4 × 4 см, прикрепляя их к основанию раствором.

Иллюстрация к книге — Гараж. Строим своими руками [i_049.jpg]

Рис. 11.1. Схема провешивания стен отвесом: 1–12 — гвозди; 13 — маяк; 14 — правило; 15 — марки


Нанесение штукатурки. По технологии следует штукатурить сверху вниз. На практике чаще штукатурят снизу вверх. Первоначально наносят обрызг и грунт, ориентируясь на маяки. Нужно учитывать, что этот подготовительный слой по своей прочности не может быть ниже, чем накрывочный (рис. 11.2).

Толщина обрызга по дереву должна быть не ниже 9 мм, по бетонным, кирпичным и каменным поверхностям — 5 мм. Грунт — не тоньше 7 мм при растворе, содержащем известь, и 5 мм — при цементном. Перед оштукатуриванием поверхность нужно увлажнить для лучшего сцепления обрызга.

После выравнивания подготовительный слой уплотняют и «волной» наносят горизонтальные борозды. Глубина этих борозд должна составлять 4 мм, а расстояние между ними — 2,5 см. Затем 2–3 раза в день на протяжении недели первый слой увлажняют и выдерживают от 7 до 12 дней.

Иллюстрация к книге — Гараж. Строим своими руками [i_050.jpg]

Рис. 11.2. Виды штукатурки: а — простая; б — улучшенная; в — высококачественная; 1 — основание; 2 — обрызг; 3 — грунт; 4 — накрывка


Перед нанесением последнего (накрывочного) слоя штукатурный раствор рекомендуется процедить через сетку со стороной ячейки 1 мм. При механизированной штукатурке стен используют форсунку, при оштукатуривании своими руками делают это кельмой с сокола или ковшом. Разглаживание производят штукатурно-затирочными машинами или гладилками со шпатлеванием. Накрывочный слой не должен быть толще 2 мм.

При нанесении слоев известковую смесь наносят после того, как побелеет предыдущий слой, остальные растворы — после схватывания предшествующего.

Металлические балки армируют сеткой, а перед оштукатуриванием на них наносят слой бетона. Не нужно разглаживать цементную штукатурку металлической гладилкой, потому что тогда на поверхности штукатурки образуется цементный слой, который усаживается заметнее, чем внутренние слои.

При выполнении штукатурных работ (рис. 11.3, 11.4) емкость с раствором располагают на расстоянии 1 м от стены. В левой руке держат сокол, в правой — кельму. Один конец сокола нужно положить на борт емкости с раствором, а другой приподнять немного выше. Если раствор жидкий, держите сокол горизонтально.

Иллюстрация к книге — Гараж. Строим своими руками [i_051.jpg]

Рис. 11.3. Разравнивание раствора полутерком


Возьмите кельмой порцию раствора и уложите ее сначала на поднятую, а затем на нижнюю часть сокола. Подойдите к намеченному месту стены, возьмите кельмой порцию раствора и бросьте его на поверхность стены. Держите сокол немного наклонно, следите, чтобы раствор не стекал и не падал на пол.

Бросок кельмой выполняется кистью руки. Не нужно делать сильный взмах. Остановите движение руки у стены, чтобы не разбрызгать раствор. Удобнее всего наносить раствор слева направо. Разровняйте раствор на стене соколом или полутерком.

Вход
Поиск по сайту
Ищем:
Календарь