Книга Водоснабжение, канализация и отопление загородного дома, страница 9 – Иван Никитко

Авторы: А Б В Г Д Е Ж З И Й К Л М Н О П Р С Т У Ф Х Ч Ш Ы Э Ю Я
Книги: А Б В Г Д Е Ж З И Й К Л М Н О П Р С Т У Ф Х Ц Ч Ш Щ Ы Э Ю Я
Бесплатная онлайн библиотека LoveRead.in

Онлайн книга «Водоснабжение, канализация и отопление загородного дома»

📃 Cтраница 9

Оптимально, если колодец будет располагаться на возвышении, в месте, которое не затопляется во время весеннего таяния снега и сильных дождей, чтобы гарантировать инфильтрацию колодца загрязненной водой с поверхности (Рис. 1.6).

Если вы собрались сооружать колодец самостоятельно, то необходимо принять некоторые меры предосторожности, чтобы в процессе работ не произошло неприятных неожиданностей, чреватых травмами. Если колодец будут сооружать специалисты, то соблюдение техники безопасности должны обеспечить они.

Так, шахта колодца должна быть снабжена ограждением, причем следует учитывать, что поблизости от шахты могут оказаться не только взрослые люди, но и дети и животные. Ограждение должно быть таким, чтобы никто не свалился в колодезную шахту. Для сооружения ограды можно использовать поставленные на ребро доски, которые располагаются на расстоянии 40–70 см от края шахты. Если колодец сооружают приглашенные специалисты, проверьте наличие и качество ограждения – в первую очередь ограждение требуется для вашей безопасности и безопасности вашей семьи.

Иллюстрация к книге — Водоснабжение, канализация и отопление загородного дома [i_019.jpg]

Рис. 1.6.Расположение колодца: 1 – колодец; 2 – выгребная яма; 3 – поверхностный водоносный горизонт («верховодка»); 4 – водоупорный слой глины; 5 – защищенный водоносный горизонт


Площадка поблизости от шахты (2–3 м от устья) должна быть очищена и освобождена от различных тяжелых предметов, которые могут упасть в шахту.

Не используйте в качестве каната для бадьи с грунтом старые веревки: они порваться в самый ответственный момент. Канат должен быть максимально прочным, и его прочность следует проверять ежедневно перед началом работ (подобную проверку нужно производить не только утром, с началом работ, но и после обеденного перерыва) и после их окончания. Если глубина шахты составляет более 6 м, то необходимо использовать два каната – предохранительный канат является дополнительным гарантом безопасности работ.

Если при рытье шахты используется ворот, то он должен иметь вертикальный вал. Вороты с горизонтальным валом могут быть использованы только при рытье неглубоких (до 6 м) шахт. Ворот должен быть снабжен канатным тормозом и зубчатым остановом.

Если при рытье шахты используется механический подъемник, то в приводе допустимо применение только червячных редукторов с эффектом самоторможения. При этом на первичный вал редуктора требуется установить тормоз, чтобы уменьшить инерционный выбег механизма – в качестве еще одной меры предосторожности в дополнение к эффекту самоторможения червячного редуктора. Помните, что предосторожность никогда не бывает лишней!

Если в колодезной шахте работают люди, то их необходимо предупреждать каждый раз, когда в шахту что-либо опускается (не стоит без предупреждения бросать в шахту даже мелкие предметы – маленький камушек или карандаш точно так же могут повредить, например, глаз, как и большой булыжник).

В шахте можно работать только в касках – чтобы исключить травматизм при случайном падении в шахту каких-либо предметов.

Деревянный колодец

Деревянные колодцы сейчас строятся довольно редко: все дело в высокой цене на качественную древесину, которая требуется для их сооружения. К тому же далеко не каждая порода дерева подходит для использования: большая часть не выдерживает длительного контакта с водой, быстро гниет или придает воде неприятный привкус. Следует учитывать, что вкус колодезной воды во многом определяется древесиной, из которой изготовлен сруб колодца. Поэтому к выбору древесины – не только по качественным показателям, но и породы – следует подходить очень внимательно и не пытаться сэкономить, приобретая древесину «второй свежести».

Лучшим материалом для изготовления срубов деревянных колодцев считается дуб – его минимальный срок службы как в надводной, так и в подводной части составляет 25 лет, а в подводной части он может прослужить и больше столетия. Для увеличения срока службы колодца используют мореный дуб – для этого древесину сушат (естественная сушка не менее полугода), затем изготавливается и собирается колодезный сруб, все детали сруба маркируются, сруб разбирается, и его части укладываются в проточную воду на два года. Прошедший подобную обработку дубовый сруб – самый надежный и долговечный.

Наравне с дубом для изготовления колодезных срубов используется граб. Еще допустимо использовать для подводной и надводной части колодца вяз, ольху, лиственницу, березу, вербу, но срок службы этой древесины существенно ниже (10–20 лет в подводной части, а березы и вербы и вообще 5–10 лет).

Сосна пользуется популярностью из-за дешевизны и легкости обработки, но подходит только для сооружения надводной части колодца, постоянного контакта с водой эта древесина не выдерживает.

Древесину других пород применять не рекомендуется, особенно для изготовления подводной части колодца: несмотря на то что существуют древесные породы, которые могут так же, как и дуб, долговременно выдерживать без гниения и разрушения контакт с водой, они придают воде неприятный вкус и запах (например, есть удивительно водостойкие и долговечные тропические породы древесины, которые выделяют эфирные масла, и вода приобретает соответствующий аромат, вкус и не слишком полезные свойства, а отечественные осина и пихта придают воде горьковатый привкус). Оптимальный выбор: дуб для подводной части и сосна для надводной – лучшее соотношение «цена/качество».

Не допускается применять для строительства колодцев древесину, имеющую какие-либо пороки. Требования к лесу строги: не сухостойный, здоровый, прямой, отсутствие трухлявости, грибка, червоточин, плесени и других пороков. Применение не слишком качественной древесины для строительства колодцев – это не только сокращение срока их службы, но и отрицательное воздействие на здоровье (не всякую воду можно не только пить, но даже использовать для полива растений, особенно тех, которые употребляются в пищу).

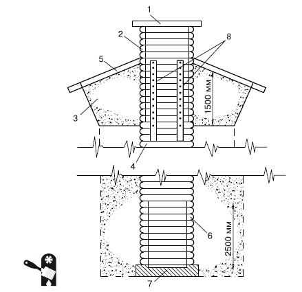
Традиционные деревянные колодцы строятся из целых бревен (диаметром 150–200 мм), но теперь для строительства начали использовать и брус (150 × 150 мм), и пластины (распущенные вдоль бревна диаметром 200–220 мм) (Рис. 1.7). При сооружении сруба колодца из пластин плоская сторона обращается внутрь колодца (Рис. 1.8).

Иллюстрация к книге — Водоснабжение, канализация и отопление загородного дома [i_020.jpg]

Рис. 1.7.Деревянный колодец с зумпфом: 1 – колодезная крышка; 2 – оголовок; 3 – насыпь под отмостку; 4 – венцы; 5 – отмостка; 6 – водоприемная часть; 7 – зумпф; 8 – вертикальные доски для фиксации венцов


Дерево должно быть тщательно просушено. Когда древесина намокает (что, естественно, и происходит в колодезной шахте), она разбухает и, таким образом, уплотняются пазы и угловые соединения. Если же использовать не абсолютно сухую древесину, а влажную, то нужная степень разбухания не будет достигнута и пазы и угловые соединения останутся неуплотненными. Данное требование очень важно, ведь использовать при сооружении колодезного сруба какие-либо уплотняющие и изоляционные материалы (например, пеньку, которой конопатят пазы при строительстве бревенчатых домов) категорически запрещается – подобные материалы не выдерживают повышенной влажности, в них быстро развивается гниль, а это делает воду в колодце непригодной для использования.

Вход
Поиск по сайту
Ищем:
Календарь