Книга Водоснабжение, канализация и отопление загородного дома, страница 29 – Иван Никитко

Авторы: А Б В Г Д Е Ж З И Й К Л М Н О П Р С Т У Ф Х Ч Ш Ы Э Ю Я
Книги: А Б В Г Д Е Ж З И Й К Л М Н О П Р С Т У Ф Х Ц Ч Ш Щ Ы Э Ю Я
Бесплатная онлайн библиотека LoveRead.in

Онлайн книга «Водоснабжение, канализация и отопление загородного дома»

📃 Cтраница 29
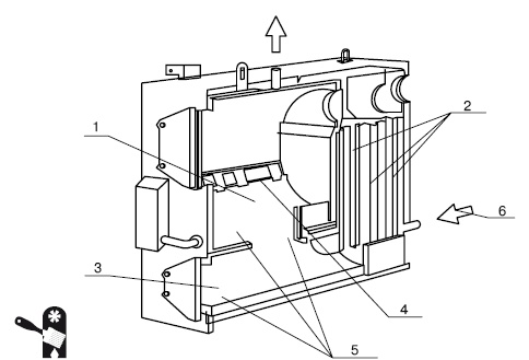
Иллюстрация к книге — Водоснабжение, канализация и отопление загородного дома [i_081.jpg]

Рис. 3.4.Твердотопливный котел с устройством механизированной подачи топлива: 1 – электродвигатель-редуктор; 2 – оперативный вибробункер; 3 – система управления; 4 – шнек


При использовании твердотопливного котла в отопительной системе с принудительной циркуляцией теплоносителя может возникнуть проблема, связанная с перебоями в подаче электроэнергии: при отключении электроэнергии останавливается циркуляционный насос и возникает опасность перегрева котла, причем с этим перегревом может не справиться автоматика, предназначенная для замедления горения топлива и снижения температуры. В результате котел может выйти из строя. Чтобы этого не происходило, многие производители оснащают твердотопливные котлы специальным аварийным теплообменником. Он может быть как встроенным, так и отдельным (в этом случае к нему прилагается необходимая запорно-регулирующая арматура).

При выборе твердотопливного котла следует подумать о модификации: либо вариант, который предназначен для всех видов твердого топлива, либо тот, который предназначен для сжигания древесины и древесных отходов. Основной критерий выбора: какой именно вид топлива является наиболее доступным, удобным и дешевым (например, поблизости от лесопилки имеет смысл выбрать твердотопливный котел, работающий на древесине и древесных отходах – на лесопилке всегда можно недорого приобрести отходы производства). Некоторые производители (к примеру, фирма Dakon) выпускают котлы, предназначенные для сжигания древесины и древесных отходов, в усовершенствованном виде: такие котлы оснащаются жаростойкими сегментами камеры сгорания, а также шамотными досками, которые в данном случае являются катализатором, – при этом появляется возможность использовать в качестве топлива древесину с влажностью до 35 %.

Твердотопливные отопительные котлы в сочетании со стальными трубопроводами – непременная принадлежность отопительных систем с естественной циркуляцией теплоносителя, именно они используются в таких системах чаще всего.

Все большую популярность приобретают пиролизные (газогенераторные) котлы, то есть котлы с пиролизным сжиганием древесины, когда сгорает не только сама древесина, но и древесный газ (Рис. 3.5). Такой тип котлов известен давно, газогенераторными котлами оснащались автомобили еще во время Второй мировой войны. Кроме обычных плюсов твердотопливного котла, пиролизные котлы имеют дополнительные бонусы: КПД их достигает 90 %, не образуется сажа, а количество золы минимально, имеется возможность регулировать мощность (от 30 до 100 %). Использование пиролизных котлов позволяет существенно сэкономить топливо и, как следствие, значительно снизить эксплуатационные расходы в отопительный сезон.

Древесный газ в пиролизном котле выделяется из древесины при сгорании в условиях недостатка кислорода. Данный процесс протекает в первичной камере сгорания, и температура при этом составляет примерно +450 °C. Затем древесный газ проходит через керамическое сопло и поступает во вторую камеру сгорания, где смешивается с воздухом, температура горения такой смеси составляет примерно +560 °C. Во второй камере сгорания происходит сжигание пиролизных газов, причем температура во время этого процесса достигает около +1100 °C. Теплообменник котла находится рядом с камерой для сжигания древесных газов, что позволяет котлу работать с максимальной эффективностью (Рис. 3.6). При этом температура выхлопных газов составляет около +160 °C.

Иллюстрация к книге — Водоснабжение, канализация и отопление загородного дома [i_082.jpg]

Рис. 3.5.Пиролизный (газогенераторный) отопительный котел: 1 – камера загрузки топлива; 2 – теплообменник; 3 – камера сгорания; 4 – канал первичного воздуха (изготавливается из жаропрочной стали); 5 – футеровка (изготавливается из муллитокорундового бетона); 6 – теплоноситель


К недостаткам пиролизных котлов относится более высокая (по сравнению с традиционными твердотопливными котлами) цена, а также электрозависимость.

Жидкотопливные котлы

Котлы, работающие на жидком топливе, устанавливаются редко в качестве основного источника отопления загородного дома, несмотря на очевидные плюсы: высокий КПД, отсутствие разрешительных документов на монтаж (к примеру, для установки газового котла требуется специальное разрешение), можно подобрать котел для снабжения горячей водой и отопления помещения любой площади, имеется возможность автоматизации работы всей системы отопления (в том числе и обеспечение защиты от опасных режимов работы).

Иллюстрация к книге — Водоснабжение, канализация и отопление загородного дома [i_083.jpg]

Рис. 3.6.Работа пиролизного котла


Главная проблема жидкотопливных котлов, снижающая их популярность, – высокая стоимость дизельного топлива, которая, увы, постоянно увеличивается. А поскольку для отопления дома площадью 200 м 2, расположенного в средней полосе, хорошо утепленного, без панорамных окон и с высотой потолков не более 3 м, требуется от 3 до 5 т солярки на отопительный сезон, то поневоле задумаешься о том, стоят ли преимущества жидкотопливного котла таких эксплуатационных расходов.

Кроме того, жидкотопливный котел требует специального помещения, оборудованного хорошей вытяжной системой (солярка пахнет, а пары ее достаточно ядовиты), специальной емкости для хранения топлива (при этом следует учитывать, что солярка относится к горючим и взрывоопасным материалам) и обязательного технического обслуживания. Кроме того, жидкотопливные котлы являются электрозависимыми – это дополнительный минус.

У котлов, работающих на жидком топливе (солярке), есть еще ряд недостатков. Дизельные котлы очень шумные, и помещение требует дополнительной – и весьма солидной – звукоизоляции. Проблему представляет и то, что при неожиданном отключении электроэнергии (а в сельской местности подобное случается нередко – электроэнергия может кратковременно отключаться) котел приходится перезапускать вручную, и если в это время дома никого нет (к примеру, отключение электроэнергии произошло днем, когда все обитатели дома на работе), то дом основательно выстуживается. Кроме того, температура топлива не должна опускаться ниже +5 °C, в противном случае дизельное топливо загустевает, фильтры забиваются и котел в результате останавливается. Поэтому приходится предусматривать еще и подогрев топливопровода для холодного времени года – а это не только затраты на обустройство котельной, но и дополнительные эксплуатационные расходы, и не слишком маленькие, ведь холодное время года в наших широтах длится несколько месяцев. Не радует и стоимость котла, работающего на жидком топливе: вместе с необходимым вспомогательным оборудованием она превышает в 4–5 раз стоимость электрического отопительного котла той же мощности, а электрические котлы – одни из самых дорогих среди отопительного оборудования (сам жидкотопливный котел имеет достаточно демократичную цену, но горелку для него приходится приобретать отдельно, а она стоит дорого).

Вход
Поиск по сайту
Ищем:
Календарь