Книга Водоснабжение, канализация и отопление загородного дома, страница 24 – Иван Никитко

Авторы: А Б В Г Д Е Ж З И Й К Л М Н О П Р С Т У Ф Х Ч Ш Ы Э Ю Я
Книги: А Б В Г Д Е Ж З И Й К Л М Н О П Р С Т У Ф Х Ц Ч Ш Щ Ы Э Ю Я
Бесплатная онлайн библиотека LoveRead.in

Онлайн книга «Водоснабжение, канализация и отопление загородного дома»

📃 Cтраница 24

В принципе, в почве есть бактерии, которые способны очистить любые сточные воды до идеально чистого состояния. Так что теоретически достаточно было бы сливать сточные воды в поле поглощения, прямо в почву. Но на практике процесс очистки сточных вод почвенными бактериями очень долгий, да еще и их активность в холодное время года значительно снижается (почти до полной остановки). Поэтому для повышения эффективности очистки сточных вод используются биоактиваторы– специальные препараты из нетоксичной смеси микроорганизмов и ферментов. Эти биоактиваторы размещаются в септике (достаточно регулярно смывать в унитаз необходимую дозу препарата).

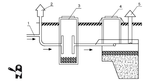
Иллюстрация к книге — Водоснабжение, канализация и отопление загородного дома [i_070.jpg]

Рис. 2.6.Канализация с септиком и фильтрующим колодцем: 1 – выход сточных вод из дома; 2 – вытяжной стояк; 3 – септик; 4 – фильтрующий колодец; 5 – вентиляционный стояк


Если проживание в доме сезонное, то бактерии, имеющиеся в септике, могут погибнуть при отсутствии эксплуатации септика. В таком случае требуется восстановить популяцию. Минус заключается в том, что во время процесса восстановления пользоваться канализацией нельзя.

Комплекс из обычного септика, биоактиваторов и поля поглощения позволяет очистить сточные воды до 95 %.

Без поля поглощения можно обойтись, если использовать более сложный в устройстве септик, в котором может осуществляться многоступенчатая очистка сточных вод на основе биохимической системы (все те же биоактиваторы). Такие септики (аэротенки)обладают рядом преимуществ: они компактнее обычных септиков, занимают меньше места, не требуют дополнительной фильтрации (ни фильтрующего колодца, ни полей фильтрации) (Рис. 2.8). Современные модели не требуют и ассенизационной машины (осадки можно удалить самостоятельно или пригласить специалиста из обслуживающей компании, но не ассенизационную машину, для которой нужны подъездные дорожки).

Иллюстрация к книге — Водоснабжение, канализация и отопление загородного дома [i_071.jpg]

Рис. 2.7.Фильтрующая траншея: 1 – нижняя гравийная подушка; 2 – крупнозернистый песок; 3 – нижняя дренажная труба; 4 – верхняя гравийная подушка; 5 – верхняя дренажная труба; 6 – насыпной грунт; 7 – гидроизоляция; 8 – вентиляционный стояк

Иллюстрация к книге — Водоснабжение, канализация и отопление загородного дома [i_072.jpg]

Рис. 2.8.Схема аэротенка: 1 – активный ил; 2 – очищаемые сточные воды; 3 – подача воздуха; 4 – отвод избытков иловой смеси


Применению аэротенков препятствуют имеющиеся у них недостатки: необходимость ограничивать применение ряда моющих средств, которые могут неблаготворно повлиять на анаэробные бактерии, чувствительность к колебаниям нагрузки (если вдруг резко возрастет нагрузка – увеличится слив, то аэротенк уже не будет обеспечивать должную очистку сточных вод).

Самой большой проблемой аэротенков является возможная гибель анаэробных бактерий из-за отсутствия питания, поэтому их не рекомендуется использовать в домах, предназначенных для сезонного проживания. Или каждый раз придется консервировать аэротенк, а по возвращении – выращивать новую колонию анаэробных бактерий. Причем это выращивание занимает не один день. Хуже всего то, что, если аэротенк уже законсервирован, дом фактически остается без канализации и, если вы желаете приехать «не в сезон» (например, провести на природе несколько осенних или зимних дней), вам придется использовать «дворовые удобства», отказаться от водоснабжения кухни и ванной – от всего, что нуждается в канализации.

Канализация для дачи своими руками

Для маленького дачного домика, предназначенного для сезонного проживания, возможно использование простейшего устройства для сброса и очистки сточных вод из кухни и душевой (частичная бытовая канализация). Канализация может быть устроена в песчаных или торфяных грунтах и работает за счет почвенных бактерий, очищающих сточные воды.

Для оборудования такой канализации потребуется пластмассовая бочка объемом минимум 200 л. Пластмасса должна быть плотной – легкая тонкостенная бочка не подойдет. Использовать металлическую бочку не стоит: металл подвержен коррозии, а эффективная защита от нее обходится недешево.

Канализация устраивается следующим образом. Бочка разрезается пополам и вкапывается днищем вверх таким образом, чтобы около трети оставалось на поверхности. Канализационная труба вводится в оставшуюся на поверхности треть бочки. Затем верх бочки армируется металлом и заливается бетоном. После того как бетон полностью застывает, бочка засыпается грунтом.

При таком устройстве канализации сточные воды рассасываются в грунте – скорость их сброса не должна превышать скорость рассасывания, что предполагает обязательный контроль расхода воды. Правда, при этом возникает две проблемы: устройство туалета и сброс мыльной воды (или воды с различными порошками, чистящими средствами и т. д. – подобные добавки вредны для растений). Поэтому бочку нужно вкапывать подальше от сада, а туалет устраивать отдельно по древнему принципу «будка во дворе».

У дворовых «туалетных удобств» для дачных участков есть существенный минус: очищать «удобства» приходится вручную. Большинство дачных поселков не обслуживаются ассенизационными машинами, так как объем сточных вод для вывоза минимален и регулярного обслуживания не требует. Можно договориться с водителем такой машины в индивидуальном порядке, но обойдется мероприятие недешево. Вот и остается на долю домовладельца неприятная процедура по организации компостной кучи. Поэтому чаще используется конструкция «дворовых удобств» без ямы для нечистот: под досками устанавливается ведро, которое регулярно опорожняется под ближайший кустик (при редком использовании) или в компостную яму.

Если вы хотите устроить во дворе умывальник (сполоснуть руки, лицо после огородных работ), то можно не только провести к нужному месту воду, но и устроить частичную бытовую канализацию. Для этого под стоком умывальника нужно устроить гравийно-песчаную подушку: выкапывается яма, которая заполняется сначала гравием, а затем засыпается песком, который тщательно трамбуется. Если сделать яму с гравийно-песчаной подушкой побольше, то в нее можно отвести также кухонные стоки и даже стоки из душевой (если душевой пользоваться не слишком часто). Чем больше стоковых вод отводится в такую канализационную систему, тем тщательнее нужно контролировать расход воды, чтобы слишком большое количество стоков, с «рассасыванием» которых не справится яма, не привело к заболачиванию почвы.

Ливневая канализация

Ливневая канализация предназначена для сбора и отвода дождевых и талых вод. В современном виде ливневая канализация осуществляет не только сбор и отвод воды, но еще и ее очистку. Устройство ливневой канализации – дело ответственное, так как при ее отсутствии или при ошибках проектирования/исполнения можно получить заболоченный участок или регулярные затопления подвала и цокольного этажа здания.

Вход
Поиск по сайту
Ищем:
Календарь