Онлайн книга «Забор, ограда, калитка на дачном участке. Строим своими руками»
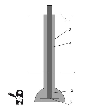
![]() ВНИМАНИЕ Столбы, на которых располагаются створки ворот и калитка, а также угловые столбы, должны быть не только засыпаны щебнем, но и забетонированы, вне зависимости от веса ограды. Рассмотрим вариант установки опорного столба с бутованием щебнем и полным бетонированием. Столб изготавливается из трубы (металлической, асбоцементной, бетонной). Такие опорные столбы применяются с легкими оградами — сеткой-рабицей, деревянными оградами из профнастила, поликарбоната, панелей ПВХ. В этом случае опорные столбы выполняют функцию столбчатого фундамента, на котором затем монтируется ограждение. Такие столбы также применяются в комбинации с кирпичом для большей устойчивости и долговечности кирпичного столба. Ямы под опорные столбы можно выкопать и лопатой, но это не только тяжело и занимает много времени — такие ямы не будут ровными, и столбы могут в них перекашиваться. Оптимально делать отверстия под опорные столбы с помощью садового бура. Если же получится достать для этой процедуры бур ТИСЭ, забор приобретет дополнительную прочность, так как этот бур делает отверстие с расширением внизу (рис. 2.7). ![]() Рис. 2.7. Установка опорного столба с помощью бура ТИСЭ: 1 — уровень грунта; 2 — защитная оболочка из рубероида; 3 — бетон; 4 — уровень промерзания грунта; 5 — опорный столб; 6 — «пятка» опорного столба Глубина ямы должна быть больше, чем уровень промерзания грунта, иначе столбы будут выдавливаться при перепадах температуры, а ограду перекосит (рис. 2.8). ![]() Рис. 2.8. Ограда, рухнувшая из-за выдавленного пучинистым грунтом столба 1,2–1,4 м — обычная глубина промерзания грунта в Москве и Московской области, до 2,4 м — глубина промерзания грунта в более северных широтах (рис. 2.9). ![]() Рис. 2.9. Нормативная глубина промерзания грунта Если ямы под опорные столбы делаются с помощью бура ТИСЭ, то для большей устойчивости столба можно прикрепить к нему «пятку» (если столб металлический — приварить, если деревянный — можно закрепить оцинкованными гвоздями). ![]() ВНИМАНИЕ «Пятку» столба следует обеспечить такой же защитой от контакта с грунтом, как и сам столб. Деревянные части обрабатываются смолой, горячим битумом, обжигаются и т. д. Подготовленные столбы устанавливаются в ямы и закрепляются с помощью пары камней. Это еще не окончательная установка, а лишь подготовительный этап — столбы нужно выровнять по высоте. Причем обрезка столбов должна осуществляться не до готовности ям, а именно после: по не зависящим от вас причинам (к примеру, из-за сложного рельефа местности, из-за наличия крупных неудаляемых камней в местах, где должны располагаться опорные столбы, и т. д.) ямы могут оказаться неодинаковой глубины. Промерив столбы, установленные в подготовленных ямах, их нужно обрезать до требуемой длины. После того как столбы обрезаны, в верхней части предусматривается крепление для будущих лаг или бетонных плит (в зависимости от того, какой именно забор вы собираетесь монтировать). Это могут быть просверленные отверстия (если лаги планируется крепить просто на болтах непосредственно к опорным столбам) или специальные уголки. Затем можно устанавливать опорные столбы в ямы. Чтобы надежнее защитить столбы от контакта с грунтом, в каждую яму помещается рубероидная гильза. После этого в яму опускается столб и выравнивается с помощью строительного уровня как в горизонтальной, так и в вертикальной плоскости. Несколько камней закрепят столб в выбранном положении, и тогда можно приступать к бетонированию. ![]() ВНИМАНИЕ Устанавливая столбы в ямы, не забудьте обратить внимание на подготовленные крепления для лаг или бетонных плит — после бетонирования столбы уже нельзя будет поворачивать, и если крепления окажутся не с той стороны, то вам придется начинать сначала всю работу или устанавливать крепления на уже забетонированный вертикальный столб. Теперь нужно ждать застывания фундамента. За это время можно подготовить к установке лаги и заборные секции. Пока фундамент не застынет окончательно, опорные столбы не рекомендуется даже красить — малейший толчок может сместить столб в яме, а результатом явится перекос ограды. После того как раствор застынет, столб необходимо окрасить для защиты от негативных воздействий окружающей среды. ![]() ПРИМЕЧАНИЕ Если вы используете старые столбы, которые уже были когда-то окрашены, то перед установкой необходимо удалить старую краску. Для того чтобы защитное покрытие служило как можно дольше, перед тем как приступить к покраске, столб нужно очистить от грязи и обработать обезжиривающим раствором. Сэкономив на обезжиривании, вы уже через год столкнетесь с необходимостью вновь красить столбы, удаляя при этом вспучившуюся краску и появившуюся ржавчину. ![]() ВНИМАНИЕ Из чего бы ни был изготовлен опорный столб — из металла, дерева, кирпича, бетона и т. д., — необходимо предусмотреть защиту от влаги. Столб следует либо накрыть защитным навершием (самый простой его вид — жестяное, его можно изготовить самостоятельно, имея в своем распоряжении кусок жести), либо сделать козырек хотя бы из пластиковой бутылки. |
![Иллюстрация к книге — Забор, ограда, калитка на дачном участке. Строим своими руками [i_017.jpg] Иллюстрация к книге — Забор, ограда, калитка на дачном участке. Строим своими руками [i_017.jpg]](img/book_covers/049/49374/i_017.jpg)
![Иллюстрация к книге — Забор, ограда, калитка на дачном участке. Строим своими руками [i_018.jpg] Иллюстрация к книге — Забор, ограда, калитка на дачном участке. Строим своими руками [i_018.jpg]](img/book_covers/049/49374/i_018.jpg)
![Иллюстрация к книге — Забор, ограда, калитка на дачном участке. Строим своими руками [i_019.jpg] Иллюстрация к книге — Забор, ограда, калитка на дачном участке. Строим своими руками [i_019.jpg]](img/book_covers/049/49374/i_019.jpg)
![Иллюстрация к книге — Забор, ограда, калитка на дачном участке. Строим своими руками [i_020.jpg] Иллюстрация к книге — Забор, ограда, калитка на дачном участке. Строим своими руками [i_020.jpg]](img/book_covers/049/49374/i_020.jpg)
![Иллюстрация к книге — Забор, ограда, калитка на дачном участке. Строим своими руками [i_021.jpg] Иллюстрация к книге — Забор, ограда, калитка на дачном участке. Строим своими руками [i_021.jpg]](img/book_covers/049/49374/i_021.jpg)
![Иллюстрация к книге — Забор, ограда, калитка на дачном участке. Строим своими руками [i_022.jpg] Иллюстрация к книге — Забор, ограда, калитка на дачном участке. Строим своими руками [i_022.jpg]](img/book_covers/049/49374/i_022.jpg)
![Иллюстрация к книге — Забор, ограда, калитка на дачном участке. Строим своими руками [i_023.jpg] Иллюстрация к книге — Забор, ограда, калитка на дачном участке. Строим своими руками [i_023.jpg]](img/book_covers/049/49374/i_023.jpg)
![Иллюстрация к книге — Забор, ограда, калитка на дачном участке. Строим своими руками [i_024.jpg] Иллюстрация к книге — Забор, ограда, калитка на дачном участке. Строим своими руками [i_024.jpg]](img/book_covers/049/49374/i_024.jpg)