Книга Забор, ограда, калитка на дачном участке. Строим своими руками, страница 24 – Иван Никитко

Авторы: А Б В Г Д Е Ж З И Й К Л М Н О П Р С Т У Ф Х Ч Ш Ы Э Ю Я
Книги: А Б В Г Д Е Ж З И Й К Л М Н О П Р С Т У Ф Х Ц Ч Ш Щ Ы Э Ю Я
Бесплатная онлайн библиотека LoveRead.in

Онлайн книга «Забор, ограда, калитка на дачном участке. Строим своими руками»

📃 Cтраница 24
Калитка

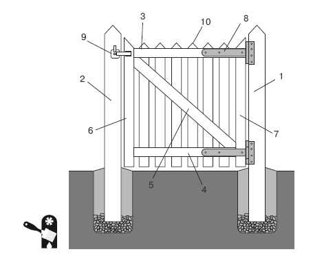
Самый простой и традиционный вариант — деревянная калитка (рис. 3.1). Для ее изготовления требуется минимум инструментов, что весьма немаловажно — далеко не у каждого дачника имеется набор инструментов, необходимых для изготовления, к примеру, калитки на металлической раме. С деревянной калиткой можно обойтись молотком и ножовкой.

Иллюстрация к книге — Забор, ограда, калитка на дачном участке. Строим своими руками [i_101.jpg]

Рис. 3.1. Схема деревянной калитки:

1 — опорный столб; 2 — притворный столб; 3 — верхняя перекладина; 4 — нижняя перекладина; 5 — подкос; 6 — притворная рейка обвязки; 7 — опорная рейка обвязки; 8 — навесная петля; 9 — защелка; 10 — штакетник


Оптимальная ширина калитки — 1–1,2 м. Столбы заглубляются ниже глубины промерзания грунта с армированием и бетонированием. При установке столбов следует учитывать, что ширина калитки — это не просто расстояние между столбами, а расстояние между столбами за вычетом 1,5 см на зазоры. Если этого не учесть, то калитка попросту не будет закрываться.

Изготавливается калитка очень просто: деревянная рама, подкос, обшивка штакетником или другим материалом. Для обшивки могут быть использованы лист профнастила, сотовый поликарбонат, оцинкованное железо, сэндвич-панели. Затем калитка навешивается на петли, закрепленные на столбах.

Вместо деревянной рамы можно использовать металлические уголки, скрепленные с помощью сварки. Именно в сварных работах может оказаться проблема для большинства владельцев дачных участков: далеко не у каждого есть сварочный аппарат и навыки работы с ним.

Любители «деревенского» стиля нередко устанавливают калитку, изготовленную из неошкуренных бревен. Для ее создания используются бревна диаметром 100 мм с корой. Два бревна распиливаются вдоль, обрезаются до нужной длины, получившиеся заготовки соединяются в квадрат или прямоугольник (в зависимости от желаемой формы калитки). Чтобы усилить конструкцию и придать ей жесткость, по диагонали закрепляются два нераспиленных бревна крест-накрест. Затем готовая калитка навешивается на петли, на ней устанавливается защелка или замок. При желании такую калитку можно украсить плетущимися растениями (внизу калитки закрепляется небольшой ящик с землей, куда высаживается лоза). Любители экстремального дизайна украшают «деревенскую» калитку граблями или лопатой, закрепляя сельхозинвентарь на скрещенных бревнах.

Распашные ворота

Распашные ворота — традиционный вид ворот. Это одна или две створки с петлевыми навесами, которые открываются либо внутрь (что чаще — из-за достаточно узких проездов между дачными участками), либо наружу.

Основная проблема распашных ворот — место, которое требуется для их открытия. Эта проблема усугубляется снежными зимами, ведь для того, чтобы открыть ворота, приходится расчищать пространство. Зато устройство распашных ворот очень просто, и с ним вполне можно справиться самостоятельно.

Ширина ворот рассчитывается так же, как и ширина калитки: расстояние между столбами за вычетом 1,5–2 см на зазоры. Обычно ширина ворот составляет 2,2–2,4 м. Для въезда грузовых машин ворота должны быть шире: 3,2–4 м.

Рама ворот изготавливается или из металлических труб, скрепленных с помощью сварки, или из дерева. Чаще всего используется металлический профиль сечением не менее 40 мм.

В углы металлической рамы монтируются уголки, чтобы придать воротам большую жесткость. К верхней и нижней части рамы привариваются запорные узлы (они либо приобретаются в готовом виде, либо изготавливаются самостоятельно из обрезков арматуры и труб). К раме крепятся петли-навесы, а вторая часть навесов закрепляется на опорных столбах.

Иллюстрация к книге — Забор, ограда, калитка на дачном участке. Строим своими руками [i_102.jpg]

ПРИМЕЧАНИЕ

Чем больше и тяжелее ворота, тем более мощные петли для них требуются и тем больше нужно самих петель. Так, обычные ворота могут обойтись четырьмя петлями, а ворота для грузовых автомобилей требуют уже шесть петель.

Все металлические части окрашиваются для предотвращения коррозии. Готовая рама навешивается на петли и обшивается профнастилом, сотовым поликарбонатом, сэндвич-панелями, досками — по желанию и в соответствии с требованиями дизайна ограды.

Иллюстрация к книге — Забор, ограда, калитка на дачном участке. Строим своими руками [i_103.jpg]

ВНИМАНИЕ

При установке ворот убедитесь, что покрытие абсолютно ровное и ваши ворота смогут нормально открываться и закрываться. Если же имеются какие-либо неровности, уклоны, то почву необходимо выровнять, чтобы впоследствии не возникло проблем с открытием ворот. Если ваша дача посещается круглый год, то лучше всего не просто выровнять покрытие на въезде, но забетонировать или заасфальтировать въезд.

Ворота имеют большую парусность и могут распахиваться не только от сильного ветра, но даже от легкого ветерка. Чем шире ворота, тем выше парусность и меньше устойчивость к ветру. Поэтому ворота следует оснащать засовами (шпингалетами), которые будут удерживать их в закрытом состоянии и помогать противостоять ветру. Засовы можно как приобрести готовыми, так и изготовить самостоятельно, используя куски труб и металлические полосы. Под воротами, в местах крепления засовов, устанавливаются трубы и бетонируются — в них будут вставляться засовы.

Нередко засовами пренебрегают, особенно если ворота невысокие и неширокие. Однако даже самые миниатюрные ворота начинают прогибаться под ветром и выглядят не слишком эстетично. Кроме того, «гуляющие» от ветра ворота со временем начинают скрипеть, да и изнашиваются гораздо быстрее, чем ворота, имеющие засовы.

При желании можно оснастить распашные ворота автоматическим устройством для открывания и закрывания — подобные устройства имеются в продаже (рис. 3.2, 3.3). Но если вы используете ворота довольно редко, то в автоматике нет особого смысла.

Для того чтобы ворота были ровными, а створки — одинаковыми, идеально подходящими друг к другу, можно использовать следующую схему изготовления ворот: сначала изготавливается рама на две створки, затем устанавливаются центральные стойки, а после того, как будут установлены все пластины и элементы, обеспечивающие жесткость створок, конструкция разделяется на две части (створки) с помощью ножовки (рис. 3.4, 3.5).

Иллюстрация к книге — Забор, ограда, калитка на дачном участке. Строим своими руками [i_104.jpg]
Вход
Поиск по сайту
Ищем:
Календарь