Книга Забор, ограда, калитка на дачном участке. Строим своими руками, страница 11 – Иван Никитко

Авторы: А Б В Г Д Е Ж З И Й К Л М Н О П Р С Т У Ф Х Ч Ш Ы Э Ю Я
Книги: А Б В Г Д Е Ж З И Й К Л М Н О П Р С Т У Ф Х Ц Ч Ш Щ Ы Э Ю Я
Бесплатная онлайн библиотека LoveRead.in

Онлайн книга «Забор, ограда, калитка на дачном участке. Строим своими руками»

📃 Cтраница 11
Иллюстрация к книге — Забор, ограда, калитка на дачном участке. Строим своими руками [i_043.jpg]

Рис. 2.23. Комбинированное расположение досок ограды


Расположение элементов обрешетки может быть не только горизонтальным или вертикальным. Возможно любое расположение, к примеру под углом. Если вы хотите создать оригинальную ограду, можно выбрать диагональное расположение штакетника. Для этого нужно будет изготовить раму, к которой он и будет крепиться. Рама затем закрепляется на лагах.

Рама может быть как строго прямоугольной, так и со срезанными углами — подобная форма способствует лучшему стоку воды и удлиняет срок службы ограды.

Можно выбрать веерное расположение штакетника — это позволит использовать минимальное количество материала и получить оригинальную ограду. Штакетник в этом случае крепится непосредственно к лагам.

Забор из штакетника или досок можно украсить декоративными элементами, выполненными из реек (рис. 2.24).

Иллюстрация к книге — Забор, ограда, калитка на дачном участке. Строим своими руками [i_044.jpg]

Рис. 2.24. Декоративный элемент деревянной ограды

Частокол

Наиболее бюджетный вид деревянной ограды — частокол. Фактически это просто деревянные колья, вбитые в землю (рис. 2.25).

Иллюстрация к книге — Забор, ограда, калитка на дачном участке. Строим своими руками [i_045.jpg]

Рис. 2.25. Частокол


Для того чтобы запастись материалом для такой ограды, достаточно прогуляться в ближайший лес. Материал для частокола можно получить и на собственном участке — вырубая ненужные деревья и кустарники. Для большей устойчивости такой ограды сначала устанавливаются опорные столбы, к которым крепятся две или три лаги, а уже с ними переплетаются колья.

Минусом частокола является его низкая декоративность, однако это исправимо — частокол может быть украшен плетущимися растениями (виноградом, плющом, шиповником, плетущимися розами). Если использовать для украшения частокола виноград, то таким образом можно получить дополнительный кусочек сада — ограда одновременно будет являться источником ягод.

Частокол также можно украсить развешанными по нему горшками — получится весьма интересный вариант ограды «под старину». При соответствующем дизайне участка такая ограда может быть весьма декоративной.

Для установки частокола потребуются опорные столбы, лаги и сами колья. Опорные столбы и лаги устанавливаются так же, как и для забора из штакетника. Колья переплетаются с лагами и вбиваются в землю. Для увеличения срока службы частокола желательно обработать нижнюю часть кольев, входящую в грунт, так же, как и нижнюю часть опорных столбов.

Плетень

Еще один почти бесплатный вариант деревянной ограды — плетень, изготовленный из лозы. Лозой можно запастись у ближайшего водоема. Хорошо подойдут ветви орешника (рис. 2.26). Правда, изготовление плетня требует сил, времени и терпения.

Иллюстрация к книге — Забор, ограда, калитка на дачном участке. Строим своими руками [i_046.jpg]

Рис. 2.26. Плетень


Для изготовления плетня потребуются опорные столбы, колья и основной материал — лоза или орешник. Столбы устанавливаются так же, как и при монтаже обычного забора из штакетника, с тем же шагом — 2–2,5 м. Столбы могут быть деревянными, металлическими, бетонными, кирпичными и т. д., по желанию и возможностям. Лучше всего с плетнем сочетаются деревянные столбы, но и металлические трубы, окрашенные «под дерево», смотрятся тоже неплохо. После установки столбов в землю вбиваются колья (их нижняя часть защищается от гниения так же, как и нижняя часть столбов). Колья являются основной опорой для плетня.

Иллюстрация к книге — Забор, ограда, калитка на дачном участке. Строим своими руками [i_047.jpg]

ПРИМЕЧАНИЕ

Вместо кольев можно использовать металлические трубы небольшого диаметра.

После того как все опоры установлены, начинается собственно само плетение. Ветви, предназначенные для плетня, предварительно ошкуриваются — с них снимается кора. Ветви, пораженные грибком или насекомыми, следует отбраковывать и не использовать их для изготовления ограды, в противном случае срок службы плетня будет недолгим. Ветви переплетают с опорными кольями. Нижняя часть плетня не должна соприкасаться с грунтом, оптимальное расстояние — 10–15 см. После того как плетень смонтирован, его можно покрыть лаком — такое покрытие не только защищает ограду от гниения, но и сохраняет живую структуру древесины, что придаст плетню «старинный» вид. Плетень также можно просто покрасить в любой желаемый цвет.

Плетень может быть любой нужной вам высоты. Такой забор используется для ограждения участка, невысокие плетни хорошо подходят и для ограждения отдельных частей участка (к примеру, посадок ягодных кустарников), а с помощью низких плетней можно создавать декоративные клумбы и альпийские горки.

Для украшения плетня можно использовать те же средства, что и для украшения штакетника, — горшки, плетущиеся растения.

Ограда из профнастила

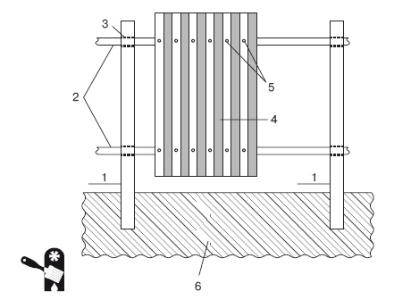
Для возведения ограды из профнастила потребуется сам профнастил (ширина листа выбирается в зависимости от желаемой высоты ограды), опорные столбы, лаги и саморезы (рис. 2.27).

Иллюстрация к книге — Забор, ограда, калитка на дачном участке. Строим своими руками [i_048.jpg]

Рис. 2.27. Ограда из профнастила:

1 — столб; 2 — лаги; 3 — сварка; 4 — профлист; 5 — саморезы; 6 — грунт


Опорные столбы и лаги обычно изготавливаются из сварной профильной трубы 60 × 60 мм и 40 × 40 мм соответственно. При желании можно приобрести комплект с антикоррозийным покрытием любого желаемого цвета. Иногда для удешевления ограды используются столбы и лаги из дерева, но в этом случае ограда потребует регулярного ухода: древесина подвержена гниению и ее необходимо периодически осматривать и восстанавливать защитное покрытие. Саморезы могут быть как алюминиевыми, так и стальными. Алюминиевые саморезы дешевле и не подвержены коррозии, но они могут деформироваться из-за сезонных перепадов температуры.

Вход
Поиск по сайту
Ищем:
Календарь