Онлайн книга «Вода в доме и на участке»
|
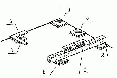
Плитку устанавливают на основании, в соответствии с риской линии разреза размещают строго под роликом и, нажимая рычаг, перемещают каретку вдоль линии разреза от себя, в результате чего на лицевой стороне плитки получается надрез. Затем, для того чтобы переломить плитку, ручку плиткореза надавливают вниз. Перед тем как приступить непосредственно к облицовке, необходимо выбрать способ укладки плитки. Независимо от выбранного способа облицовку стен всегда начинают с нижнего ряда. В месте выхода водопроводной трубы в плитке сверлят отверстие, диаметр которого должен превышать диаметр трубы. Сделать это можно с помощью «балеринки» – центрового сверла, резец которого выполнен из твердого сплава. Если труба уже установлена, то плитку с просверленным отверстием разрезают на две части, так чтобы разрез проходил по центру отверстия, и закрепляют на растворе с обеих сторон трубы. Подготовка основания. Чтобы определить ровность стены, используют деревянную рейку. Ею проводят по стене, обращая внимание на впадины, которые нужно будет выровнять цементным раствором, просушить и очистить от пыли и грязи, а также на бугры, которые затем срубают. Для лучшего сцепления плитки со стеной после этого на поверхность наносят насечки. Разметка вертикальной поверхности. Когда основание будет подготовлено под облицовку, производят разметку и провешивание (рис. 87). На верхней грани предполагаемого уровня облицовки на расстоянии 35–40 см от угла смежной стены вбивают гвоздь 1. Это делают для определения вертикальной линии. Привязав к нему отвес и определив толщину облицовки внизу, вбивают гвоздь 2 на расстоянии 25–30 см от уровня пола, а затем натягивают между ними шнур. ![]() Рис. 87. Провешивание стен и установка маяков: 1–4 – гвозди; 5 – отвес; 6 – гибкий уровень; 7 – маячные плитки; 8 – шнур-причалка; 9 – угольник На противоположной стороне стены делают то же самое. С помощью гибкого уровня определяют место гвоздя 3. Когда гвоздь 1 совместят с нулевым делением одной из визирных трубок, то местоположение гвоздя 3 укажет нулевая отметка второй трубки. Аналогично гвоздю 2 определяется точка гвоздя 4 (с помощью отвеса). Между гвоздями 3 и 4 также натягивают шнур. Шнуры, которые натянули между гвоздями 1–2 и 3–4, дадут возможность осуществлять контроль за вертикальностью стыков. По верхнему краю маячных плиток, которые устанавливают на углах уровня нижнего края облицовки, натягивают шнур-причалку. Это делается для горизонтальной провески, и с помощью этого шнура будет проверяться прямолинейность горизонтальных швов. Когда закончат облицовку, маячные плитки вырубают, а на их место устанавливают плитки на растворе. Для определения перпендикулярности между вертикальной линией и шнуром-причалкой применяют угольник. Разметка горизонтальной поверхности. Перед началом этой операции проверяют горизонтальность поверхности, используя 2-метровую деревянную рейку и строительный уровень. Если отклонение выше предельной нормы, которая составляет 50 мм, тогда на дне бассейна устраивают подушку из цементно-песчаного раствора, а после его затвердения размечают поверхность. На полу у стенки устанавливают строительный уровень таким образом, чтобы воздушный пузырек в трубке дошел до нулевой отметки, и затем на каждой стенке проводят черту (рис. 88). ![]() Рис. 88. Разметка горизонтальной поверхности и установка маячных плиток: 1–3 – угловые маячные плитки; 4 – деревянная рейка; 5 – угольник; 6–7 – промежуточные маячные плитки Далее устанавливают маячные плитки в углах, по угольнику проверяя перпендикулярность смежных рядов. Это проделывают, чтобы соблюдать горизонтальность укладываемой плитки. Если у облицовываемой поверхности большие размеры, то между угловыми маяками устанавливают промежуточные. Натягивают шнур-причалку по краю маячных плиток, которые так же, как и при укладке плитки на стенку, убирают по окончании процесса и заменяют плитками на растворе. Если укладка плитки будет производиться на цементно-песчаный раствор, то за 5–6 ч до начала этого процесса обильно смачивают пол. К облицовке приступают после того, как вода испарится, но поверхность будет еще влажной. Если используют мастику или клей, поверхность пола должна быть абсолютно сухой. Укладка плитки способом прямой ряд. Так как по первому ряду потом пойдет сверка всей работы, при укладке плиток необходимо особо тщательно соблюдать точность. Кладка будет обладать симметричностью, если начать с середины, а если с угла, то неполномерных плиток будет меньше. Перед началом работы плитку ненадолго опускают в раствор цементного молока, а поверхность стены увлажняют с помощью малярной кисти. Раствор наносят на один угол плитки, прикладывают ее к стене, правильно располагают, а потом, слегка постукивая ручкой растворной лопатки или молотком через деревянный брусочек, осаживают до необходимого уровня. После этого убирают излишки раствора, которые выступят в швах после осадки, и, уложив две плитки, вставляют между ними два стальных штырька, которые помогут добиться того, чтобы швы были равными по толщине. Таким образом поступают после каждой уложенной плитки. Уложив 10–15 плиток, извлекают штырьки. Укладку производят горизонтальными рядами, передвигая шнур-причалку и устанавливая штырьки. Ровность поверхности периодически проверяют 2-метровой рейкой перед укладкой каждого следующего ряда. В случае обнаружения зазора между рейкой и стеной снимают плитку, добавляют раствор и укладывают ее еще раз, осаживая до нужного уровня. После того как вся стена будет облицована, в углах устанавливают угловые и плинтусные фасонные детали. Это придаст облицованной стене завершенный вид. Укладка плитки способом по диагонали (рис. 89). Первый ряд укладывают так же, как и в предыдущем случае. Обычно применяют прямоугольные плитки, длинная сторона которых равна длине диагонали квадратной плитки, а второй ряд укладывают треугольными плитками. Они должны располагаться углом вниз, для этого можно ориентироваться по шнуру-причалке. Далее выбирают, каким из двух способов продолжать работу: горизонтальными рядами, когда верхние и нижние углы плитки соответствуют одной прямой вертикальной линии, или наклонными. В последнем случае шнур-причалка должен находиться под углом 45°. ![]() Рис. 89. Облицовка стены по диагонали: 1 – прямой верхний ряд; 2 – треугольные плитки; 3 – шнур-причалка при укладке плитки наклонными рядами; 4 – шнуры-причалки при укладке плиток горизонтальными рядами Из треугольных плиток выполняют и предпоследний ряд, как предыдущие, но по-следний должен быть прямым. Облицовка стен керамическими плитками в виде панно. Подготавливают основание с особой тщательностью, чтобы высота неровностей не превышала 4–5 мм. Картинка должна укладываться на мастику или подходящий клей, но ни в коем случае не на цементно-песчаный раствор, чтобы швами не нарушить целостность рисунка и чтобы кладка была бесшовной. Работу начинают с середины, чтобы не пропала симметричность рисунка, но сначала выкладывают насухо на полу каждый ряд и только потом переносят на стену. Ровность поверхности контролируют 2-метровой рейкой, а прямолинейность стыков – шнуром-причалкой. |
![Иллюстрация к книге — Вода в доме и на участке [i_085.jpg] Иллюстрация к книге — Вода в доме и на участке [i_085.jpg]](img/book_covers/049/49252/i_085.jpg)
![Иллюстрация к книге — Вода в доме и на участке [i_086.jpg] Иллюстрация к книге — Вода в доме и на участке [i_086.jpg]](img/book_covers/049/49252/i_086.jpg)
![Иллюстрация к книге — Вода в доме и на участке [i_087.jpg] Иллюстрация к книге — Вода в доме и на участке [i_087.jpg]](img/book_covers/049/49252/i_087.jpg)