Книга Вода в доме и на участке, страница 36 – Галина Гальперина

Авторы: А Б В Г Д Е Ж З И Й К Л М Н О П Р С Т У Ф Х Ч Ш Ы Э Ю Я
Книги: А Б В Г Д Е Ж З И Й К Л М Н О П Р С Т У Ф Х Ц Ч Ш Щ Ы Э Ю Я
Бесплатная онлайн библиотека LoveRead.in

Онлайн книга «Вода в доме и на участке»

📃 Cтраница 36

Как правило, при устройстве люфт-клозета приходится делать выгребную яму в непосредственной близости от фундамента. Саму уборную размещают в северной, теневой части дома, у торцовой стены здания.

Нередко люфт-клозет имеет отдельную вытяжку, не сообщающуюся с вентиляционной трубой выгреба (люфт-каналом). Для обеспечения лучшей очистки воздуха в уборной люфт-канал и вытяжку проводят рядом с дымоходом печи или трубами местного водяного отопления. В вытяжной трубе, выведенной выше печной трубы на 500 мм, можно установить вентилятор форточного типа, что усилит тягу.

Приемную воронку люфт-клозета, оснащенную откидным сиденьем и закрывающейся крышкой, изготавливают из любого подходящего материала (оцинкованной кровельной стали, листовой латуни и др.) в форме конуса. Внутреннюю часть этой воронки смазывают жидкой смазкой, а снаружи покрывают краской.

Приемная воронка нуждается в регулярной обработке теплой водой с мылом. А чтобы избавиться от запаха сероводорода, вызванного процессами кислого брожения в выгребной яме, придется использовать известь: 10 кг вещества на 50 л воды (данного средства достаточно для обработки ямы объемом 0,5 м3).

Для удобства вместо воронки на высоте 42–45 см от уровня пола можно установить унитаз. Желательно отдать предпочтение модели с наклонным козырьком.

Перед установкой унитаза убирают дно сифона: сверлом с победитовыми наплавками делают отверстие, которое постепенно расширяют с помощью острого зубила. Такая работа требует времени и терпения, однако описанные действия позволят уберечь поверхность керамического унитаза от появления трещин. Стык между сточной трубой и унитазом цементируют, а сам унитаз крепят к полу.

Прежде чем установить воронку или унитаз в полу (перекрытии), делают сток: нижний конец трубы опускают в выгреб на 30–40 см ниже начала люфт-канала, плотно закрепляют в перекрытии выгреба, тщательно заделывают и изолируют швы, при этом угол наклона сточной трубы должен составлять не менее 40°. Диаметр сточной трубы (обычно берут чугунные, стальные, асбестоцементные или керамические трубы) – 10–15 см, а люфт-канала – 13 см.

Особенности прокладки канализационной сети вблизи дорог, тротуаров, газопроводов и других коммуникаций

Порой при укладке канализационных труб приходится сталкиваться с такой проблемой, как их пересечение с автомобильными дорогами, тротуарами, трубопроводами иного назначения и др.

Пример рационального размещения канализации и других сетей подземных коммуникаций в поперечном сечении проезда показан на рисунке 60.

Иллюстрация к книге — Вода в доме и на участке [i_058.jpg]

Рис. 60. Схема рационального размещения подземных коммуникаций вдоль дорог


Крупные канализационные сети прокладывают через овраги, проезжую часть, тротуары и прочие препятствия в виде дюкеров, эстакад и переходов. Но в частном секторе этого, конечно, нет, поэтому устройство канализации, тянущейся от дома, имеет некоторую специфику.

Сначала в намеченном месте прокладывают траншею глубиной 1,5–2 м и шириной 1,5 м, после чего помещают в нее трубы. Если трубы пластиковые, их следует защитить от механических повреждений металлическим кожухом. Чугунные, керамические и асбестоцементные трубы можно укладывать в траншею без защитного кожуха.

Следующий этап – либо подключение труб к центральному коллектору городской канализационной сети, либо операция по опусканию конца трубы в сливную яму.

Если на пути прокладки канализационных труб встречаются трубопроводы другого назначения, то, прежде чем копать траншею, следует согласовать эти действия с соответствующими инстанциями, то есть получить от них разрешение и схемы расположения коммуникаций.

Устройство дождевой (ливневой) канализации

Кроме того что дождевые и талые воды попадают в ливневую канализацию с поверхности почвы, они еще отводятся с крыш домов. Такие водостоки называются внутренними.

Как правило, водостоки устраивают из напорных асбестоцементных, стеклянных или пластмассовых труб. При наличии вибрационных нагрузок используют стальные трубы.

Водосточные воронки бывают нескольких видов (рис. 61). Они состоят из корпуса, устанавливаемого в перекрытие, рамы, решетки (колпака) для задержания мусора. Воронку герметично соединяют с кровлей, для того чтобы влага не просачивалась и не вредила перекрытиям. Слой гидроизоляции с помощью болтов фиксируют между корпусом и рамой и заливают мастикой. Наиболее часто используемыми являются водосточные воронки диаметром 80, 100, 150 и 200 мм.

Иллюстрация к книге — Вода в доме и на участке [i_059.jpg]

Рис. 61. Водосточные воронки: а – плоские воронки с решетками; б, в – колпаковые воронки; 1 – решетка; 2 – рама; 3 – корпус; 4 – струевыпрямитель; 5 – колпак


Воронки с решетками устанавливают на плоских кровлях, воронки с колпаками – на скатных и плоских кровлях. Для того чтобы увеличить пропускную способность водосточных воронок, применяют струевыпрямители, не позволяющие образовываться завихрениям у края воронки и препятствующие сужению проходного сечения.

Отводные трубы, которые соединяют несколько водосточных воронок, монтируют в виде подвесных трубопроводов. В стояки отводится атмосферная влага от воронок или отводных труб.

Водосточные воронки устанавливают на определенном расстоянии друг от друга с учетом рельефа кровли, конструкции здания, расчетной площади водосбора.

Как правило, воронки располагают в рядах колонн, на границе отдельных пролетов, в наиболее низких местах перелома профиля крыши или разжелобка. В местах наличия деформационных швов воронки устанавливают по обе стороны шва. На кровле должен иметься уклон 0,01–0,015° к водосточным воронкам, так чтобы на крыше не оказалось мест, где будет скапливаться вода.

Площадь водосбора определяют как горизонтальную проекцию участка крыши, с которого вода стекает к воронке. Тип и диаметр водосточной воронки или стояка выбирают с таким условием, чтобы расчетный расход не превышал максимально допустимых расходов.

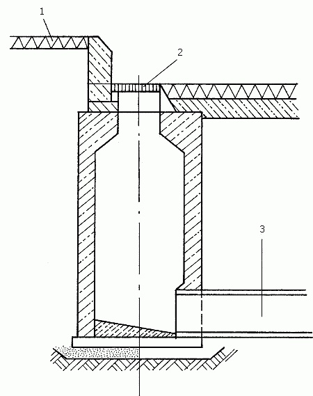
Отводные трубы и горизонтальные участки выпусков рассчитывают так же, как канализационные трубопроводы. Трассировка дождевой канализации аналогична принципам трассирования бытовой канализационной сети. Гидравлический расчет дождевой сети выполняют таким же способом, как и расчет бытовой сети. Необходимо отметить, что атмосферные и талые воды поступают в закрытую водосточную сеть через дождеприемники (рис. 62), которые представляют собой колодцы, закрытые решеткой. Они бывают круглой или прямоугольной формы. Дно такого колодца имеет плавные очертания без приямка для осадка. Канава должна присоединяться к закрытой сети через колодец с отстойной частью.

Иллюстрация к книге — Вода в доме и на участке [i_060.jpg]

Рис. 62. Железобетонный дождеприемник: 1 – тротуар; 2 – решетка; 3 – соединительный трубопровод

Вход
Поиск по сайту
Ищем:
Календарь