Книга Вода в доме и на участке, страница 18 – Галина Гальперина

Авторы: А Б В Г Д Е Ж З И Й К Л М Н О П Р С Т У Ф Х Ч Ш Ы Э Ю Я
Книги: А Б В Г Д Е Ж З И Й К Л М Н О П Р С Т У Ф Х Ц Ч Ш Щ Ы Э Ю Я
Бесплатная онлайн библиотека LoveRead.in

Онлайн книга «Вода в доме и на участке»

📃 Cтраница 18

Полочка унитаза может быть отлита вместе с корпусом или же выполнена как отдельная деталь: в этом случае для подсоединения бачка также используется манжета.

Различаются унитазы также положением и направлением выпуска. Бывают унитазы с косым и с прямым выпуском, у последних соединение с канализационной трубой вертикальное.

Унитазы с косым выпуском для подключения к стояку требуют отдельной арматуры и трубопровода для стока, проложенного от места соединения к стояку. Самыми практичными следует признать унитазы с цельнолитой полочкой и низко расположенным бачком. В таких унитазах исключается возможность поломки полочки, а также прорыва манжеты, которой здесь просто нет.

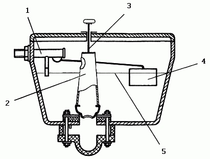
Несколько больше разнообразия есть в конструкциях бачков (рис. 28). Они бывают с нижней или боковой подводкой воды, с той или иной конструкцией поплавкового клапана, могут быть выполнены из сантехфаянса, керамики или пластмассы. Последние легче и меньше нагружают полочку. Как бы сложно ни был устроен смывной бачок, принцип его действия одинаков – создавать определенный запас воды, осуществлять слив и автоматически прекращать подачу воды по наполнении бачка.

Иллюстрация к книге — Вода в доме и на участке [i_026.jpg]

Рис. 28. Основные элементы конструкции смывного бачка: 1 – поплавковый клапан; 2 – груша, совмещенная с переливом; 3 – тяга; 4 – поплавок; 5 – уровень воды


Показанный на схеме вариант исполнения бачка с боковой подводкой воды имеет перелив, выполненный в едином блоке с грушей.

В более сложных по устройству системах перелив сделан отдельным элементом и представляет собой воронку с горловиной, находящейся чуть выше нормального уровня воды в заполненном бачке. Назначение перелива – служить для аварийного сброса воды в унитаз в случае поломки поплавкового клапана.

Груша может быть резиновой или пластиковой, а поплавок, выполненный в большинстве современных моделей унитаза из пластмассы (прежде встречались поплавки из латуни), должен быть абсолютно герметичным, чтобы не нарушить при своем затоплении регулировку поплавкового клапана. Тяга обычно изготовляется из медной или латунной проволоки, так как эти материалы не ржавеют. Подводку воды осуществляют гибким резиновым шлангом в оплетке или пластиковым, без нее, с креплением пластмассовыми накидными гайками. Последний вариант подводки менее надежен, чем прочный шланг в оплетке, имеющий накидные гайки из стали или латуни, снабженные кольцевыми уплотнителями.

Поплавковый клапан в сборе с поплавком – самый сложный элемент конструкции бачка (рис. 29). Он может быть регулируемым или нерегулируемым. Вообще, в по-следнее время в конструкциях поплавковых клапанов наблюдается заметное разнообразие. Как устроен клапан бачка, можно узнать, подняв его крышку. Тот или иной вариант исполнения должен обеспечить выполнение клапаном его основной задачи – поплавковый клапан должен автоматически управлять поступлением воды, а также надежно перекрывать воду, как только требуемый уровень будет достигнут. Принципиальная схема поплавкового клапана показана на рисунке.

Иллюстрация к книге — Вода в доме и на участке [i_027.jpg]

Рис. 29. Устройство поплавкового клапана: 1 – прижимная шайба; 2 – прокладка; 3 – седло; 4 – мембрана; 5 – стержень; 6 – рычаг поплавка; 7 – ось рычага


После спуска воды поплавок, опускаясь вслед за ней посредством рычага, подвижно закрепленного на оси, снимает давление со стержня-толкателя. Тот, в свою очередь, позволяет мембране отойти от седла под действием напора воды, и она (вода) начинает поступать в бачок.

Поплавок, поднимаясь вместе с ней, давит рычагом на стержень толкателя, который передает усилие на мембрану, заставляя ее плотно прижаться к седлу и перекрыть таким образом поступление воды. После следующего сброса воды весь цикл повторяется. По той же схеме действуют и все другие типы поплавковых клапанов.

Замена прокладки в вентиле еще проще, чем в головке обыкновенного крана, ведь вентиль, как правило, не имеет керамического корпуса или хромированной накидной гайки, о сохранности граней которой стоило бы волноваться. Вместе с тем правильная разборка вентиля требует аккуратности. При отсутствии стандартной прокладку можно изготовить самостоятельно (если заранее изготовить просечку). Если же просечки нет, вырезать прокладку точно по месту поможет сам клапан; для этого помещают вырезанную из технической резины заготовку на резьбовую шпильку клапана (предварительно наколов по центру будущей прокладки отверстие) и фиксируют заготовку гайкой с шайбой так, словно бы это была готовая прокладка. После этого, опирая лезвие скальпеля или остро заточенного ножа на боковую поверхность тарелки клапана, доводят контур заготовки до идеально ровной окружности.

Помимо исправного состояния прокладки, остальные требования к состоянию вентиля также соответствуют требованиям к состоянию водопроводных кранов. Сальник вентиля должен быть достаточно плотно набит (во избежание протечек воды по штоку), ведь он практиче-ски постоянно находится под напором воды. Поскольку вентили установлены, как правило, не на самом виду, особенно важное значение придается регулярному осмотру и контролю их состояния. В случае обнаружения течи действия те же, что и с краном: попытаться поджать набивку, закручивая накидную гайку. Если нужно, добавляют набивку. Методика простая: закрутив маховик до упора, открывают любой водоразборный кран, установленный после вентиля. Если вода надежно перекрыта вентилем, то есть его клапан и прокладка в порядке, приступают к набивке сальника. Зафиксировав положение вентиля «закрыто», выворачивают спецвтулку (или откручивают накидную гайку) и снимают маховик, оставляя неподвижным шток. В зазор между корпусом и штоком укладывают уплотнитель, обвивая прядями набивки шток и утрамбовывая их отверткой. Разбирая вентиль, следует помнить, что нельзя извлекать втулку, если вода не перекрыта, иначе давление воды выдавит уплотнитель и потопа не избежать.

Если при осмотре и проверке действия вентиля обнаружилось, что в закрытом состоянии он не держит воду, то следует, как и с краном, несколько раз открыть-закрыть вентиль. Если застрявшие между седлом и прокладкой наслоения не вымылись водой, выкручивают вентильную головку и разбираются в причинах неисправности (предварительно закрыв вентиль на вводе в квартиру, а в случае поломки – в нем самом, отключив весь стояк).

В случае возникновения неполадок разного рода (разрушилось шаровое соединение штока с клапаном и последний не может лечь на гнездо), требуется замена штока вместе с клапаном.

Установка сантехники

Установка сантехники – завершающий этап проведения водопровода. И от того, насколько качественно эта работа будет выполнена, зависит не только комфортность пользования водопроводом, но и длительность службы сантехнического оборудования.

Установка раковины и мойки

Разновидностей моек и раковин, предлагаемых сегодня изготовителями, великое множество. Они различаются не только по внешнему виду, размеру, но и по материалу, из которого они изготовлены: чугуная, нержавеющая, эмалированная и обычная сталь (мойки), фаянс, керамика или стекловолокнистый пластик (раковины).

Вход
Поиск по сайту
Ищем:
Календарь