Книга "Линия Сталина" в бою, страница 38 – Валентин Рунов, Михаил Виниченко

Авторы: А Б В Г Д Е Ж З И Й К Л М Н О П Р С Т У Ф Х Ч Ш Ы Э Ю Я
Книги: А Б В Г Д Е Ж З И Й К Л М Н О П Р С Т У Ф Х Ц Ч Ш Щ Ы Э Ю Я
Бесплатная онлайн библиотека LoveRead.in

Онлайн книга «"Линия Сталина" в бою»

📃 Cтраница 38

Описание того, как началась война в полосе войск 5-й армии, удалось найти в нескольких источниках.

Так, М.Д. Грецов в труде «На Юго-Западном направлении» дает только краткую справку о вступлении в бой 22 июня 1941 года 45-й и 62-й стрелковых дивизий 15-го стрелкового корпуса, а также 87-й и 124-й стрелковых дивизий 27-го стрелкового корпуса.

Он пишет, что 5-я армия к утру 22 июня имела развернутыми четыре дивизии. На ковельском направлении на рубеже Любомль, Владимир-Волынской вступили в бой 45-я и 62-я стрелковые дивизии 15-го стрелкового корпуса, а также подразделения укрепленного района, 98-го и 90-го пограничных отрядов и часть сил 41-й танковой дивизии. Главные силы 41-й танковой дивизии стягивались по плану прикрытия в район Ковеля. Против этих войск наступали 56-я, 62-я и частично 298-я пехотные дивизии противника, а 213-я пехотная дивизия поддерживала их огнем своей артиллерии.

Бои в районе Владимира-Волынского и Любомля шли в течение всего дня с переменным успехом. Решающий перевес противник получил лишь к полудню, после того ввел в бой свои 13-ю и 14-ю танковые дивизии в районе Владимир-Волынского. Этим он создал угрозу правому флангу 15-го стрелкового корпуса, командир которого был вынужден отвести свою 62-ю стрелковую дивизию несколько на восток.

27-й стрелковый корпус вступил в бой, имея развернутыми на линии государственной границы 87-ю и 124-ю стрелковые дивизии, а также два укрепленных района. Этим силам пришлось в первый день принять на себя удар восьми пехотных и трех танковых дивизий противника. 135-я стрелковая дивизия этого корпуса в этот день выдвигалась из района Дубно, и ей предстояло пройти маршем около 100 километров.

К концу 22 июня остатки 87-й и 124-й стрелковых дивизий вели бой в окружении противника, имея незначительные запасы снарядов, патронов и продуктов питания. 22-й механизированный корпус, который сосредотачивался в районе Ковеля, должен был с утра 23 июня уничтожить Владимир-Волынскую группировку противника.

А. В. Владимирский в своей книге «На Киевском направлении» пишет, что в связи с налетом авиации противника приведение войск 5-й армии в готовность и выдвижение их к границе несколько замедлилось. Были выведены все основные линии проводной связи. Пехотные части противника в период артподготовки форсировали реку Западный Буг по захваченным ими мостам и наведенным переправам и, овладев плацдармами на важнейших направлениях, стали накапливать на них силы, выбросив вперед разведывательные и передовые отряды. В расположении советских войск было сброшено на парашютах много мелких диверсионных групп численностью по 5–7 человек.

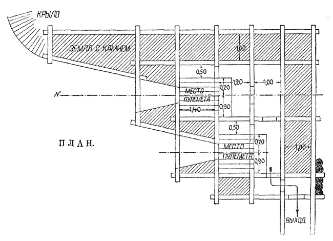
Иллюстрация к книге — "Линия Сталина" в бою [i_056.jpg]

Полукапонир на 2 пулемета против 6-дюймовых снарядов


Поднятые по боевой тревоге решением командиров частей войска выдвигались к государственной границе. Не доходя до нее 10–15 километров, они встречались с передовыми и разведывательными частями противника и, отбросив их к западу, в 11–13 часов завязали встречные бои с подошедшими главными силами неприятеля.

Бывший начальник оперативного отдела Юго-Западного фронта И.Х. Баграмян отмечает, что первое донесение из 5-й армии в штаб фронта по радио прибыло в 10.30 утра. Командующий армией смог только сообщить, что населенные пункты Сокаль и Тартакув в огне, а 124-я стрелковая дивизия к границе пробиться не смогла и заняла оборону севернее Струмиловского укрепленного района»

В 80-е годы кафедрой истории военного искусства Военной академии имени М.В. Фрунзе на основании архивных документов было разработано учебное пособие по боевым действиям соединений 5-й армии в начале Великой Отечественной войны. Из этого материала видно, что нападение противника в полосе 5-й армии началось в 4 часа 15 минут налетами артиллерии и ударами авиации. Под прикрытием огня артиллерии начали действовать передовые отряды и штурмовые группы противника, предназначенные для захвата мостов, переправ и блокирования долговременных оборонительных сооружений. Чтобы нарушить связь и посеять панику, вместе с ними переправились группы диверсантов, переодетых в красноармейскую форму. В ближайшем тылу были высажены мелкие группы парашютистов.

Эти силы были встречены пограничниками, гарнизонами дотов, подразделениями внутренних войск охраны железнодорожных объектов и тремя батальонами 87-й стрелковой дивизии, которые обороняли мосты через реку Западный Буг. На многих участках попытки врага захватить мосты были отбиты.

В 6 часов утра в наступление перешли главные силы противника, которые сломили сопротивление оборонявшихся подразделений и овладели главной полосой обороны. Встречные бои с выдвигавшимися из глубины дивизиями начались только в 10–11 часов 22 июня на удалении 10–15 километров от государственной границы.

В это время особенно отличился командир 87-й стрелковой дивизии генерал-майор Ф.Ф. Алябушев. Войска этой дивизии по приказу ее командира за несколько дней до начала войны были выведены на свои участки обороны. Однако 20 июня дивизия была возвращена в пункты постоянной дислокации. В полосе обеспечения были оставлены два передовых отряда, каждый в составе стрелкового батальона, усиленного артиллерийской батареей. Эти батальоны и встретили противника в предполье, замедлили темпы его наступления и позволили привести в боевую готовность основные силы дивизии.

Получив данные о прорыве значительных сил противника на направлении Устилуг, Владимир-Волынский, Г.Н. Микушев принял решение не направлять свои части на участке обороны, находившиеся в непосредственной близости от границы. Было решено с мест постоянной дислокации нанести удары по врагу, отбросить его и только после этого выйти в свои районы. Огневую поддержку контратакующих войск поддерживала артиллерия, которая заняла огневые позиции непосредственно на территории военных городков. Этот замысел был осуществлен успешно.

Удары выдвигавшихся соединений 5-й армии были настолько успешными, что к 13 часам дня части 45-й, 62-й и 87-й стрелковых дивизий вышли на государственную границу почти на всех участках. Только 124-я стрелковая дивизия не смогла прорваться к подготовленным у границы позициям и вынуждена была перейти к обороне на неподготовленном рубеже встречи с противником.

В 13 часов противник вновь перешел в наступление в стыке 62-й и 87-й стрелковых дивизий и захватил Устилуг. На расширяющийся плацдарм была переправлена 14-я танковая дивизия, а за ней следовала 13-я танковая дивизия. Одновременно в стыке между 5-й и 6-й армиями вводилась в сражение 11-я танковая дивизия. В результате этого противник уже в первый день операции бросал главные силы группы Клейста на Луцкое направление.

В этой обстановке вновь проявил себя командир 87-й стрелковой дивизии. Он вывел на прямую наводку артиллерийский полк и организовал контратаку силами второго эшелона. В результате этого противник был отброшен, а части дивизии овладели Устилугом, местами перейдя государственную границу. Ввод в сражение танковых дивизий противника на данном направлении в первый день был сорван.

Вход
Поиск по сайту
Ищем:
Календарь