Онлайн книга «"Линия Сталина" в бою»
|
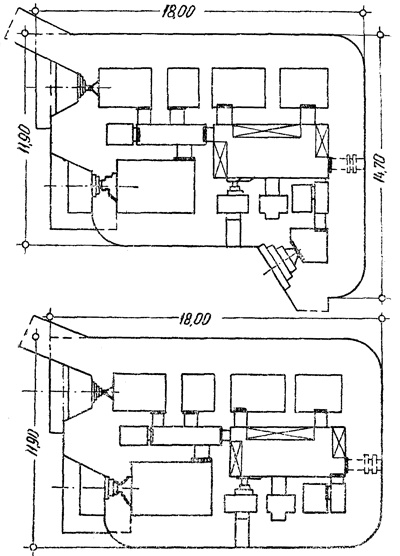
Огневые группы имели как наружную, так и подземную части. На поверхности земли находилось только то, что необходимо было для ведения огня. Все остальное располагалось под землей. Это: убежища-казармы для личного состава, склады боеприпасов и продовольствия, медицинские пункты, санитарно-техническое оборудование, электростанции и энергоустановки, бытовое оборудование и т. д. Общая площадь подземной части нередко достигала 0,15 кв. километров. Помимо этого, все сооружения групп были связаны между собой подземными галереями. Многие подземные коммуникации оборудовались приспособлениями для преграждения их в случае возникновения опасности, а также для ведения в них борьбы с противником. Такой вид, например, имела огневая группа Иммергоф. Ее гарнизон насчитывал 160 человек. Опорные пункты были сравнительно крупными по размерам и числу огневых сооружений. Входившие в них 5-10 огневых сооружений также имели центральную подземную часть и подземные ходы сообщения, соединявшие огневые сооружения в единую оборонительную систему с мощной подземной частью. Входной блок в опорные пункты выносился на 1500–2000 метров в глубину позиции и оборудовался амбразурами для орудий, бронеколпаками для пулеметов в целях недопущения проникновения противника внутрь сооружения. Опорные пункты, по сравнению с огневыми группами, имели более мощное вооружение: 75-, 120-и 135-мм орудия в железных казематах или в броневых вращающихся башнях. Общее количество орудий и минометов достигало 20 единиц, пулеметов более 30 единиц. Например, опорный пункт Шонебург на вооружении имел восемь 47-,75-мм пушек, 14 минометов, 33 пулемета. ![]() Панцерверк Французские опорные пункты занимали площадь (1800х800 метров) при гарнизоне до 800 человек. Наличие круговой системы огня казематированного оружия и заграждений, надежная защита личного состава от огня противника путем расположения под землей (до 15–20 метров) за железобетонными и бронированными стенами (до 3,5 метров), большие запасы продовольствия и боеприпасов (на 3 месяца) – все это давало возможность гарнизону опорного пункта длительное время успешно сдерживать атаки наземного противника. Узлы обороны (ансамбли) располагались на наиболее важных участках укрепрайонов. Основные из них – Хохвальд (Эльзасский укрепрайон) и Хакенберг (Лотарингский укрепрайон). Они состояли из отдельного входного блока, отнесенного в глубину, долговременных огневых сооружений и круговых заграждений, состоявших из противотанкового рва шириной до 8-10 м, а также проволочной сети шириной около 10 метров. Ансамбль имел развитую подземную систему, представлявшую собой центральную подземную часть и подземные ходы сообщения, связывавшие между собой все элементы узла обороны в единый комплекс. ![]() Орудийно-пулеметные полукапониры для 47-мм орудия и пулемета Магистральные подземные галереи имели ширину – 6–8 метров, соединительные галереи несколько меньшую – 2–3 метров, но позволявшую достаточно быстро передвигаться по ней гарнизону. Передвижение подразделений, доставка большого количества боеприпасов, других материальных средств осуществлялись электропоездами по подземной железной дороге. Входы в подземную часть, как правило, совмещались с огневыми сооружениями (в укрепленных группах) или устраивались в виде отдельных блоков, вынесенных на 1500–2000 метров в глубину обороны. Они располагались в складках местности и искусно маскировались. Особое место занимал ансамбль Хакенберг. Французское командование называло его чудом подземной техники, «подземным городом». Он занимал площадь 1200х1500 метров, а гарнизон его насчитывал 1200 человек. Все основные элементы ансамбля находились глубоко в недрах горы, напоминавшей собой небольшой городок. Помимо специально подготовленных к обороне огневых сооружений, предполагалось широко использовать имевшиеся в этом районе рудники, шахты. На вооружении этого ансамбля находилось 25 орудий различного калибра (37-,75-,135-мм), 40 минометов (50-,60-,81-мм), до 75 пулеметов. ![]() Участок Мезеритцского укрепленного района ![]() Разрез ансамбля средней мощности: 1 – орудийная башня; 2 – бетонные блоки; 3 – пулеметное сооружение; 4 – пулеметная башня; 5 – антенна; 6 – выхлопная труба дизель-мотора; 7 – подземный мост; 8 – ров; 9 – каземат для бомбометов; 10 – противотанковый ров; 11 – центральная электростанция; 12 – шлюз броневой двери; 13 – казарма; 14 – проволочные заграждения; 15 – противотанковое препятствие (рельсы) Одним из серьезных укреплений линии Мажино была крепость Фон-дер-Гольц, заложенная еще германцами, а затем дооборудованная и переименованная французами в Марну. Эта крепость занимала хребет длиной в 2,5 километра, тянущийся с севера на юг. Ее площадь достигала 200 га. Она состояла из трех отдельно расположенных укреплений: группы Арс-Лакенекси, укреплений Мерси и Жюри. Каждый из этих элементов системы мог обороняться самостоятельно. Для поддержания взаимодействия, маневра силами и средствами все они соединялись хорошо вентилируемыми и освещаемыми подземными ходами общей протяженностью до 5 километров. В центре фесте глубоко под землей располагалась электростанция с десятью дизелями и складом, вмещавшим 150 куб. метров мазута. Станция была связана со всеми элементами крепости при помощи потерн. Глубокие потерны в разрезе представляли собой яйцевидную форму с выступами внутрь в нижней части на 40 см и на высоту 80 см, образуя скамьи для сидения. Ширина прохода по дну достигала 80 см, а всей потерны в среднем сечении равнялась 1,5–1,8 метра. Высота подземного хода от дна до потолка составляла 2,2 метра, что позволяло личному составу передвигаться свободно по ней в полной экипировке. Стенки, толщина которых достигала 20 см, были выложены прочным камнем или же забетонированы. Освещение и вентиляция потерн, как и других подземных помещений, повсеместно было электрическим. Рвы и впереди лежащая местность освещались прожекторами. Вода ко всем элементам фесте подавалась по потернам и сохранялась в водяных погребах или бетонных резервуарах. Кроме того, в состав оборонного комплекса входили элементы, расположенные в разных его частях. Это: гидравлическая станция с механической помпой, резервуар для воды, канализация, телефонные станции, хлебопекарня, лазареты с операционным залом, ванными комнатами и палатами для больных, кухни, склады материалов, подвалы центрального отопления и др. ![]() Ансамбль долговременных сооружений, связанных между собой подземными сообщениями |
![Иллюстрация к книге — "Линия Сталина" в бою [i_038.jpg] Иллюстрация к книге — "Линия Сталина" в бою [i_038.jpg]](img/book_covers/047/47727/i_038.jpg)
![Иллюстрация к книге — "Линия Сталина" в бою [i_039.jpg] Иллюстрация к книге — "Линия Сталина" в бою [i_039.jpg]](img/book_covers/047/47727/i_039.jpg)
![Иллюстрация к книге — "Линия Сталина" в бою [i_040.jpg] Иллюстрация к книге — "Линия Сталина" в бою [i_040.jpg]](img/book_covers/047/47727/i_040.jpg)
![Иллюстрация к книге — "Линия Сталина" в бою [i_041.jpg] Иллюстрация к книге — "Линия Сталина" в бою [i_041.jpg]](img/book_covers/047/47727/i_041.jpg)
![Иллюстрация к книге — "Линия Сталина" в бою [i_042.jpg] Иллюстрация к книге — "Линия Сталина" в бою [i_042.jpg]](img/book_covers/047/47727/i_042.jpg)