Книга Скульптурная гимнастика для мышц, суставов и внутренних органов, страница 11 – Анатолий Ситель

Авторы: А Б В Г Д Е Ж З И Й К Л М Н О П Р С Т У Ф Х Ч Ш Ы Э Ю Я
Книги: А Б В Г Д Е Ж З И Й К Л М Н О П Р С Т У Ф Х Ц Ч Ш Щ Ы Э Ю Я
Бесплатная онлайн библиотека LoveRead.in

Онлайн книга «Скульптурная гимнастика для мышц, суставов и внутренних органов»

📃 Cтраница 11

...

ВНИМАНИЕ!

Такая боль с иррадиацией в руку или ногу (в неврологии ее называют цервикобрахиалгией, люмбоишалгией) появляется тогда, когда межпозвонковый диск, как это ни печально, уже разрушен на две трети.

В венах позвоночника нет венозных клапанов. Там, где возникает ограничение функциональной подвижности, моментально застаивается венозная кровь , поэтому любой приток артериальной крови приведет к обострению заболевания.

Абсолютная беспомощность в быту (невозможно самостоятельно не только встать с постели, но и повернуться в ней), усиление боли при любом движении и бессонные ночи – все это приводит к госпитализации. Человек попадает в больницу и, чтобы избавиться от изнуряющей боли (в неврологии – синдром поражения корешка спинномозгового нерва), соглашается на оперативное вмешательство.

...

ВНИМАНИЕ!

В этот период больному категорически противопоказаны любые тепловые, физиотерапевтические, электрические процедуры, массаж и даже местные растирания.

С течением времени – от года до шести лет в зависимости от индивидуальных особенностей пациента – идет процесс фибротизации, то есть содержимое межпозвонкового диска «подсыхает» и заменяется вначале хрящом, а затем соединительной тканью. Функция движения восстанавливается на 60–70%, а остальную часть берут на себя выше– и нижележащие двигательные сегменты позвоночника. Человек выздоравливает.

...

Эта болезнь не смертельная, но снижающая качество жизни, особенно если вызвал ее сам человек, который систематически занимался оздоровительной гимнастикой, выполняя движения неправильно.

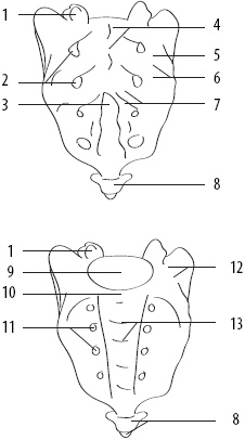
Крестец. В нем различают основание, верхушку, средний и два боковых отдела, которые образованы слиянием поперечных отростков крестцовых позвонков (рис. 1.8).

Иллюстрация к книге — Скульптурная гимнастика для мышц, суставов и внутренних органов [Autogen_eBook_id17.jpg]
Рис. 1.8. Крестец: 1 – верхняя суставная поверхность крестца; 2 – заднее копчиковое отверстие; 3 – крестцовый канал; 4 – срединный крестцовый гребень; 5 – латеральный крестцовый гребень; 6 – крестцовая бугристость; 7 – промежуточный крестцовый гребень; 8 – копчик; 9 – основание крестца; 10 – мыс крестца; 11 – передние крестцовые отверстия; 12 – латеральная часть крестца (крыло); 13 – поперечная бугристость

На латеральной поверхности боковых масс базируется еще одна поверхность – ушковидная, она предназначена для сочленения с подвздошной костью. Основание крестца имеет два верхних суставных отростка, обращенных назад и несколько в сторону. Передняя поверхность крестца отличается вогнутой формой, а у задней поверхности наличествуют два выступа: средний крестцовый гребень (рудименты остистых отростков) и суставной гребень (рудименты суставных отростков). Соединения позвоночных отверстий крестцовых позвонков образуют крестцовый канал. Он заканчивается крестцовым отверстием, размеры которого сильно варьируются. Крестцово-подвздошные сочленения – малоподвижные суставы. Зато они отличаются большой устойчивостью, умеют равномерно распределять вес верхней половины тела на нижние конечности. Объем движения крестцово-подвздошного сустава составляет 4–10°.

...

Именно симметричное расположение крестцово-подвздошных сочленений в пространстве дает человеческому мозгу возможность контролировать вертикальное положение тела при прямохождении.

Крестцово-подвздошные суставы образуются утковидными неровными поверхностями боковых масс крестца и подвздошных костей таза. Синовиальная жидкость в крестцово-подвздошных суставах появляется только у беременных женщин.

Таз состоит из двух полутазов, расположенных с правой и левой сторон крестца. Подвздошная, седалищная и лобковая кости – таков состав каждого полутаза. Полутазы соединяются между собой лобковыми костями (это называется лобковым симфизом). Тела костей полутаза образуют вертлужную впадину для соединения с головкой тазобедренной кости.

Копчик состоит из трех-пяти рудиментарных позвонков. Некоторые признаки позвонка сохранились только у первого копчикового. Он имеет небольшое тело. Для сочленения с крестцом у первого копчикового позвонка на задней поверхности с каждой стороны поднимается копчиковый рог.

Глава 2 Саморегуляция через систему дыхательных упражнений

Основной прием саморегуляции человека – это синхронизация движений и дыхания. Благодаря правильному дыханию кардинально улучшаются функции печени, желудка, почек, а также восстанавливается и выравнивается тонус мышц грудной клетки, диафрагмы, брюшного пресса и других органов. Улучшение функционального состояния брюшного пресса и устранение спазма диафрагмы помогают уменьшить размер живота и избыток веса, активизировать работу матки у женщин и простаты у мужчин, замедлить старение сосудов и организма в целом.

...

ВНИМАНИЕ!

К дыхательной гимнастике надо подготовиться должным образом: ее следует проводить натощак или через три часа после еды, опорожнив мочевой пузырь и тщательно очистив нос. Помещение для занятий необходимо хорошо проветрить.

В каждодневной жизни люди редко подключают резервы легочной сосудистой системы для того, чтобы вся сосудистая система человека лучше работала. Однако правильное дыхание – обязательное условие для выполнения физических упражнений.

После того как указанные требования будут соблюдены, постарайтесь расслабиться и начните прислушиваться к своим вдохам и выдохам. Это принесет вам внутренний покой, а тревожные мысли потеряют остроту.

Первые четыре упражнения из комплекса, приведенного ниже, предварительные. Сначала непременно надо освоить отдельные типы дыхания, а уже затем учиться так называемому полному дыханию.

Упражнение 2.1. Носовое дыхание Это упражнение можно делать стоя или сидя на стуле. Медленно вдохните и выдохните. Затем зажмите правую ноздрю большим пальцем правой руки и медленно вдохните левой ноздрей. Потом зажмите левую ноздрю большим пальцем левой руки, отпустите правую и медленно выдохните через нее. Не делая пауз, повторите дыхательный цикл 9–10 раз: на это у вас должно уйти 20–25 секунд. Выполняя упражнение, сосредоточьте внимание на потоке воздуха, проходящего через нос.

а

Иллюстрация к книге — Скульптурная гимнастика для мышц, суставов и внутренних органов [Autogen_eBook_id18.jpg]

б

Иллюстрация к книге — Скульптурная гимнастика для мышц, суставов и внутренних органов [Autogen_eBook_id19.jpg]
Вход
Поиск по сайту
Ищем:
Календарь