Книга Государственный переворот, страница 33 – Эдвард Николае Люттвак

Авторы: А Б В Г Д Е Ж З И Й К Л М Н О П Р С Т У Ф Х Ч Ш Ы Э Ю Я
Книги: А Б В Г Д Е Ж З И Й К Л М Н О П Р С Т У Ф Х Ц Ч Ш Щ Ы Э Ю Я
Бесплатная онлайн библиотека LoveRead.in

Онлайн книга «Государственный переворот»

📃 Cтраница 33

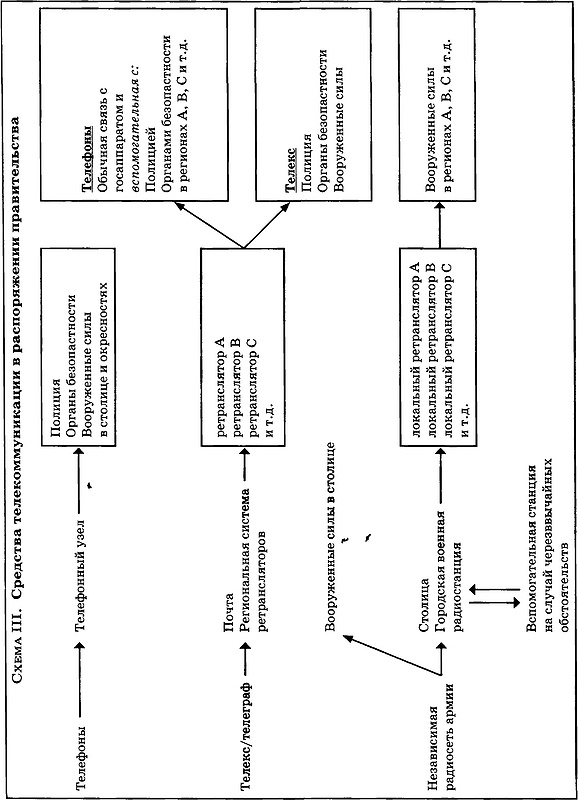
Органы внутренней безопасности понимают важность бесперебойной связи, и помимо объектов, изображенных в диаграмме на с. 119, могут быть и специальные сети связи, доступные только силам безопасности. У французской жандармерии есть система региональных сетей связи, не связанная с общественной телефонной и кабельной сетью, и даже в таких небольших странах, как Гана, полиция может обладать полностью независимой системой связи (см. Таблицу XIII).

Таблица XIII.

Средства политической телекоммуникации в Гане

Иллюстрация к книге — Государственный переворот [t13.jpg]

В США нет общенациональных сетей полицейской связи, но Министерство обороны имеет в своем распоряжении общенациональную и международную систему, которая является самой большой сетью в мире и связывает между собой все американские военные объекты на планете.

Конечно, мы не можем рассчитывать на то, чтобы захватить все устройства двусторонней связи, находящиеся в руках полиции и военных властей, но должны нейтрализовать внутренним и внешним саботажем те объекты [76] , которые нам удастся выявить и локализовать. Нет необходимости захватывать и удерживать все эти объекты, поэтому нужно проникнуть в центральную организацию каждой коммуникационной системы на короткий период, достаточный для проведения саботажа ее работы, хотя, повторимся, внутренний саботаж был бы более легок и надежен.


Транспортные коммуникации, обеспечивающие въезд в город и выезд из него

Во время активной фазы переворота неожиданное прибытие даже небольшого контингента поддерживающих правительство или не привлеченных на нашу сторону сил может поставить под серьезную угрозу все начинание. Если правительство выяснит, что часть его собственных вооруженных сил задействована в перевороте в столице, его логичной реакцией будет призыв к войскам, размещенным в других местах, в надежде на то, что заговорщики смогли привлечь к перевороту только части столичного гарнизона. Так как весьма трудно проникнуть во все части на территории страны, надежда правительства может оказаться обоснованной. Мы атакуем механизм, который может привести к прибытию

Иллюстрация к книге — Государственный переворот [s3.jpg]

верных правительству сил в столицу на каждом его уровне: мы арестуем тех, кто мог бы призвать их на помощь, мы нарушим линии связи, необходимые, чтобы установить с ними контакт, и попытаемся изолировать верные правительству силы с помощью прямых (хотя и чисто оборонительных) военных мер. Мы также должны предотвратить вмешательство этих сил с помощью контроля над последним уровнем: периметром столицы, где совершается переворот.

Если верные правительству силы хотят успеть вмешаться вовремя, им придется выдвинуться очень быстро, а это потребует использования либо одной из основных дорог, либо воздушного транспорта.

Создав эффективные оборонительные блокпосты в подходящих местах, мы сможем воспрепятствовать проникновению верных правительству сил в столицу на то короткое время, которое нужно нам для того, чтобы взять в свои руки правительственную власть и получить заверения в лояльности от основной части вооруженных сил и бюрократического аппарата. Таким образом, к тому моменту, когда силы вмешательства достигнут места совершения переворота, уже они превратятся в изолированную группу повстанцев. Наиболее подходящие для возведения блокпостов места, которые можно удерживать небольшими силами и ограниченным вооружением, а также технология необходимая для такого рода действий, рассматриваются в Приложении Бив пятой главе, где мы описываем прямую нейтрализацию верных правительству сил. Схема IV иллюстрирует места, которые будут выбраны в конкретном вымышленном примере. Но наш контроль над физическим доступом в столицу послужит и другим целям. Это будет одним из путей публичной демонстрации физического присутствия нового режима, а также предотвратит бегство лидеров правительства и других лиц, которых мы не сможем арестовать. Одна из опасностей, с которыми мы, вероятно, столкнемся, — то, что оппозиция активизируется, если какой-либо из важных фигур правительства удастся бежать из столицы и присоединиться к верным правительству силам за ее пределами. В этом случае все усилия, которые мы предприняли с целью нейтрализации таких сил внутренними мерами и путем создания помех для их транспортных и коммуникационных возможностей, могут пойти насмарку. Если верные правительству силам и не удастся достичь столицы, у политических лидеров появится шанс добраться до этих сил. Не факт, что средств, имеющихся в нашем распоряжении, хватит для того, чтобы надежно прикрыть всю столицу, хотя многое, конечно, будет зависеть от ее местонахождения и площади. Город Бразилиа, хотя и открыт со всех сторон, может быть легко блокирован, если попросту закрыть аэропорт, так как наземные коммуникации недостаточны мощны для быстрого продвижения войск из других районов

Иллюстрация к книге — Государственный переворот [s4.jpg]

страны. А Хельсинки — очень удобный для переворота город, потому что, хотя он и не отдален от других районов страны, но окружен морем и озером, и блокирование нескольких дорог сможет эффективно отрезать его от внешнего мира.


Центральные узлы уличного дорожного движения

Танки на главных площадях столицы стали символом переворота [77] , но эта картина отражает и вполне практическую необходимость продемонстрировать физическое присутствие нового режима в центре политической активности. В любой столице есть место, где располагаются здания наподобие Уайтхолла в Великобритании или Капитолия в США. В этом же месте или неподалеку от него сконцентрированы политикоадминистративные учреждения. Мы выберем и будем защищать определенные позиции вокруг и внутри этой зоны. Сделав это, мы добьемся сразу нескольких целей: а) наши позиции образуют кольцо вокруг наших активных ударных подразделений, и тем самым они будут защищены от любых враждебных сил, которые могут проникнуть в столицу; б) эти позиции поспособствуют росту нашего авторитета, демонстрируя видимые доказательства нашей мощи; в) они будут фильтровать поток движения в окруженную зону и из нее, давая нам возможность задержать тех, кого не удалось арестовать сразу.

Для достижения всех этих целей наши блокпосты должны быть сильными сами по себе, так как в противном случае они могут спровоцировать верные правительству силы на контратаку. Если нам удастся сформировать много команд, но малочисленных, они не сумеют эффективно фильтровать движение отдельных лиц. Поэтому искушения заблокировать все дороги любыми блокпостами, пусть и слабыми, следует избежать. И так как мы сможем надежно закрыть только несколько возможных точек, важно отобрать их с особой тщательностью. Главные точки уличного движения в прибрежном городе или городе, где протекает река, отобрать легче, — там столица имеет в плане четко очерченную форму, и все движение происходит в ее пределах. Это показано на Схеме V. В любом случае центр политической и бюрократической активности наверняка хорошо известен местным жителям, поэтому надо только выбрать периметр из прямых и достаточно широких улиц, на пересечении которых мы установим свои блокпосты (авеню и бульвары Парижа идеальны с этой точки зрения).

Вход
Поиск по сайту
Ищем:
Календарь