Книга Теплицы и парники. Секреты раннего урожая, страница 18 – Василий Тыбель

Авторы: А Б В Г Д Е Ж З И Й К Л М Н О П Р С Т У Ф Х Ч Ш Ы Э Ю Я
Книги: А Б В Г Д Е Ж З И Й К Л М Н О П Р С Т У Ф Х Ц Ч Ш Щ Ы Э Ю Я
Бесплатная онлайн библиотека LoveRead.in

Онлайн книга «Теплицы и парники. Секреты раннего урожая»

📃 Cтраница 18

2. Посередине планируемой теплицы забиваем кол, а к нему привязываем веревку, на конце которой закреплен другой кол. Веревка должна иметь длину радиуса предполагаемой купольной конструкции. Колом, привязанным к веревке, чертим круг на земле. По этой разметке и будем делать фундамент.

3. По разметке фундамента с шагом, равным длине ребра треугольника каркаса, сверлим ручным буром ямы глубиной 80—100 см.

4. С помощью специального диска болгаркой заготавливаем отрезки асбоцементных труб длиной 1,5 м.

5. Теперь вставляем в пробуренные ямы опоры из нарезанных асбоцементных труб.

6. Готовим детали для основы каркаса купольной теплицы. Нарезаем бруски в соответствии с расчетными значениями и чертежом. Для основания, равного диаметру полусферы будущей теплицы, подойдут брусья 50 × 100 см. Пропитайте все нарезанные деревянные части антисептиком против гнили и паразитов.

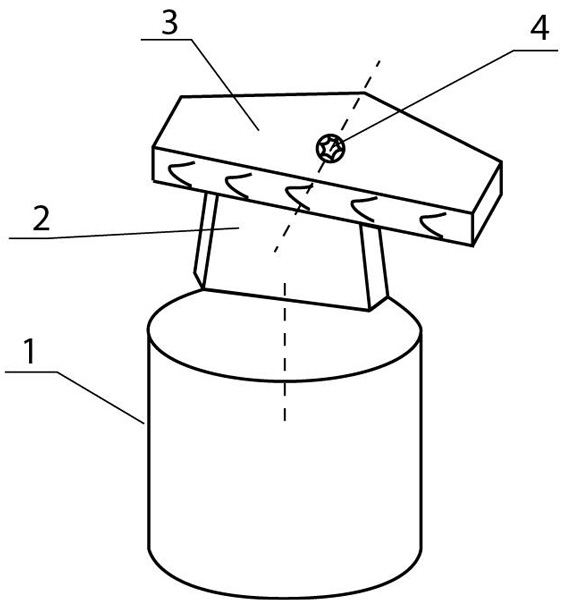
7. Заготавливаем «пяточки» и бруски для соединения деталей опор и основания теплицы (рис. 10).

Иллюстрация к книге — Теплицы и парники. Секреты раннего урожая [i_017.jpg]

Рис. 10. Схема соединения «пятки» основания и деталей опор: 1 – асбоцементная труба опоры фундамента; 2 – бруски «пятки»; 3 – «пятка» основания каркаса; 4 – крепежный болт


8. Скрепляем бруски с «пяточками» болтами и вставляем смонтированные «пяточки» в асбоцементные трубы основания (рис. 10). Теперь конструкция каркаса не сойдет с опор, потому что «пятки» исключают горизонтальное движение конструкции.

9. На «пятки» кладем детали основания, стыкуем их и уровнем проверяем горизонтальность. После того как все сойдется, трубы затаптываем, а детали основания привинчиваем шурупами к «пяткам». Теперь у нас готовое основание – вписанный в круг радиусом высоты купола многоугольник.

10. Для ребер каркаса напиливаем брус 50 × 50 см определенной расчетной длины, в определенном количестве, с определенными углами стыков.

11. Делаем по краям заготовок пропилы для концов коннекторов. Так мы спрячем элементы крепления, и каркас будет выглядеть более эстетично. Все подготовленные материалы пропитываем антисептиком.

12. Коннекторы – крепежные элементы – можно изготовить самостоятельно, нарезав их из твердой жести, или же купить в магазине. Если хотите удешевить конструкцию, рекомендую сделать самостоятельно (рис. 11). Делаются они проще простого: берем полоску жести шириной 10 см, размечаем ее на 6 частей по 5 см. Получим длину 30 см. В каждой из размеченных частей сверлим по четыре отверстия (два сверху, два снизу). Я сверлю по шаблону. Далее делим ширину полоски пополам и с одной стороны через каждые 5 см делаем по надрезу. Теперь всю полоску сгибаем в уголок под 90°, а потом верхнюю неразрезанную часть гнем до получения шестиугольника. Коннектор готов. Можно делать коннекторы и из отрезков труб. Трубу с одного конца разрезаем болгаркой на необходимое количество лепестков, потом разгибаем их, а трубу отрезаем так, чтобы осталось несколько сантиметров целой. В лепестках сверлим отверстия под шурупы. А можно просто по шаблону ножницами по металлу нарезать многолепестковые коннекторы, а затем в лепестках просверлить дырки. Как видите, легко и просто. И деньги сэкономили, и зиму сидели при деле. Ну, а кому такая работа в печенку, тот пусть покупает!

13. Когда вы изготовите все элементы конструкции, включая коннекторы, можно приступать к сборке каркаса. К основанию теплицы крепим коннекторы на три лепестка и «вяжем» на них вершины ребра треугольников. Стыкуйте и собирайте детали купола не спеша – ибо здесь важна точность и внимательность.

14. Уже на первой стадии монтажа определите, где у вас будет дверь. Из бруса 50 × 100 см соберите дверной проем и прикрепите его к основанию в том месте, где запланирован вход. Чтобы дверная коробка не свалилась, поставьте ее на временные упоры. Когда конструкция будет собрана до места дверного проема, тогда жестко прикрепите дверной проем к каркасу.

15. При сборке каркаса можно собрать элементы верха купола коннекторами отдельно на земле, а потом поднять и установить его на общую конструкцию, поднятую на несколько треугольников.

Иллюстрация к книге — Теплицы и парники. Секреты раннего урожая [i_018.jpg]

Рис. 11. Схема изготовления коннектора из полоски жести: 1 – верхняя часть коннектора; 2 – отверстие под шурупы; 3 – место крепления коннектора в шестиугольник; 4 – крепежные лепестки коннектора


16. Не бойтесь, если в начальной стадии монтажа каркас будет казаться хрупким и шатким. Когда вы соедините все детали в «зените» купола, сооружение уже будет прочно стоять на земле и может спокойно выдержать даже несколько человек на своем верху.

17. Форточки-треугольники собираем из отдельных деталей. Делаем их по размеру такими, чтобы они свободно заходили в те треугольники каркаса, где будут окна вентиляции. Пропитываем форточки антисептиком и, когда они высохнут, вешаем их на петли, но таким образом, чтобы они открывались сверху.

18. Дверь изготавливаем из бруса 50 × 50 см. Размеры двери 0,7 × 1,8 м, но если вы или кто-то из ваших родных немного выше 1,8 м, то и дверь подберите под этот рост, иначе шишек на лбу не избежать. Дверь устанавливаем в проем с помощью навесов в конце сборки конструкции.

19. Осталось только обшить теплицу-купол листами сотового поликарбоната (можно и пленкой, но эффектнее все же поликарбонатом) с помощью кровельных саморезов и планок.

20. Низ теплицы возле асбоцементных опор обшейте досками, а все щели законопатьте монтажной пеной.

Ну вот вы и соорудили чудо инженерной мысли у себя на участке, а ведь поначалу, признайтесь, боялись. Теперь осталось спланировать и разместить внутри теплицы-купола грядки. По всем законам фэншуй грядки обустраивают по периметру такого сооружения. Можно их немного приподнять, сделав простые бортики из досок, и засыпать образовавшиеся грядки приготовленным субстратом. Но бортики желательно выполнить и из более долговечного материала – кирпичной кладки, камня, пластиковых пластин, металла, или залить по опалубке бетоном. Некоторые дизайнеры поднимают грядки на комфортную высоту, до высоты установки рукомойника на кухне (80 см). Я считаю это очень рациональным, но для этого придется вдоль стены сделать стеллаж с настилом, оградить эти висячие грядки бортиком из досок, застелить пленкой и уже потом насыпать туда субстрат. Снизу можно поставить ящики для низких растений или рассады. Таким образом, полезная площадь увеличится, и ухаживать за растениями при такой высоте грядок можно, не сгибая спины. Кроме обустройства грядок, еще к каркасу можно подвесить ампельные горшки, и в них выращивать растения. Если позволяет площадь вашей теплицы, то посередине, как раз напротив зенита купола, сделайте еще одну круглую грядку, тоже оградив ее бортиками. В ней можно выращивать высокие и вьющиеся растения. А если вы оборудуете еще и капельный полив, и отопление, то такую теплицу можно использовать практически круглый год. Но специфика отопления купольной теплицы такова (если вы хотите сэкономить тепло), что все трубы, по которым идет тепло, должны находиться под грядками. Еще тепло экономят, когда посреди теплицы устанавливают емкость с водой. Вода в дневное время, получая солнечную энергию, нагревается, а в ночное время отдает свое тепло. Получится простейший водяной теплогенератор. Кроме того, вы сможете использовать эту отстоянную воду для полива растений. Купольная структура сама по себе очень экономична и хорошо держит тепло за счет правильного перемещения, циркуляции теплого и холодного воздуха внутри полусферы. Но когда будете высаживать растения, помните, что, несмотря на хороший внутренний микроклимат в купольной теплице, все же южная ее сторона будет прогреваться более интенсивно, поэтому все теплолюбивые растения сажайте именно с юга полусферы. Рассаду и растения на оборудованных грядках купольной теплицы следует высаживать следующим образом: у самых стен посадите низкорослые сорта, а ближе к центру теплицы – высокорослые. Очень простые правила, но все же не перепутайте, и тогда вы получите удовольствие от выращивания таких растений, а в результате – большой качественный и ранний урожай плодов и овощей. Кроме того, вы будете обладателем сказочного сооружения, на которое станут тайно приходить и, завидуя, глазеть ваши добрые соседи.

Вход
Поиск по сайту
Ищем:
Календарь